
Рассмотрим типичные конструкции дугогасительных устройств автокомпрессионных и автогенерирующих элегазовых выключателей.
Схема дугогасительного устройства двухстороннего дутья показана на рис. 1. На рисунке верхняя половина дугогасительного устройства изображена во включенном положении, а нижняя — в отключенном. Внутри герметичной изоляционной камеры 2, заполненной элегазом, соосно установлены два соплообразных неподвижных контакта 2 и 4 и неподвижный поршень 5. Цепь тока при включенном выключателе образована скользящим неподвижным мостиком 3, кинематически связанным с подвижным дутьевым цилиндром 6. При отключении тяга 7 перемещает дутьевой цилиндр и контактный мостик вправо, в рабочем объеме цилиндра повышается давление. Дуга, возникающая между контактным мостиком и левым соплом, потоком сжатого элегаза затягивается внутрь сопел. Двухстороннее продольное дутье интенсивно воздействует на ствол дуги, которая гаснет в один из переходов тока через нулевое значение.

Рис. 1. Дугогасительное устройство элегазового выключателя

Рис. 2 Дугогасительное устройство элегазового выключателя с изоляционным соплом
В конце хода цилиндра на отключение между соплами остается свободный изоляционный промежуток, обеспечивающий необходимую электрическую прочность. Отработанный элегаз сбрасывается под оболочку изоляционной камеры.
На рис. 2 приведена другая схема дугогасительной камеры элегазовых выключателей. Аппарат находится в отключенном положении. Главные контакты 2, 5 и дугогасительные контакты 3, 6 находятся в разомкнутом состоянии. В полостях К, В, Б давление элегаза постоянно: Рк = Рв = РБ = const. Изоляционная покрышка 1 отделяет внутренние полости элегазового выключателя от внешнего пространства. При подаче команды на включение внешний привод (на рис. 2 не показан) обеспечивает перемещение справа налево подвижной системы элегазового выключателя: подвижного дутьевого цилиндра 8, подвижного главного 7 и дугогасительного 2 контактов, которые жестко связаны через тягу с силовым приводным механизмом. Вначале замыкаются дугогасительные контакты 2, 4, а затем главные контакты 7, 5. Вся подвижная система движется относительно неподвижного поршня 1 и неподвижных контактов 5 и 4. В положении "включено" ток проходит по главным контактам, а давление в полостях дугогасительного устройства постоянно.
При подаче команды на отключение внешний привод обеспечивает перемещение с большой скоростью подвижной системы элегазового выключателя слева направо. Сначала размыкаются главные контакты 7,5, а затем дугогасительные 4, 2. Уменьшение объема камеры К (поршень 1 неподвижен) вызывает повышение давления элегаза в этой полости рк>рв> Рс. Как следует из рис. 2, дугогасительные контакты размыкаются с задержкой по ходу. После размыкания контактов 2, 4 начинается истечение элегаза через сопло в подвижном контакте 2 и изоляционное сопло 3, где происходит гашение дуги под действием двухстороннего продольного дутья.
Дополнительное дутье через канал небольшого диаметра (по сравнению с диаметром основного сопла) в неподвижном дугогасительном контакте 4 может способствовать отключению малых токов на начальной стадии отключения, а также создавать благоприятные условия для распада остаточного ствола дуги вблизи оконечности дугогасительного контакта 4. После окончания перемещения подвижной системы истечение элегаза затухает и давление в полостях дугогасительного устройства становится равным исходному.
В дугогасительных устройствах автокомпрессионных элегазовых выключателей необходимое для гашения дуги давление достигается после определенного хода поршневой системы. Поэтому при создании выключателей этого типа возникают трудности с обеспечением времени отключения менее 0,04 — 0,05 с. Одним из способов сокращения времени отключения является уменьшение длины хода подвижной системы до момента размыкания контактов. Для того, чтобы давление элегаза к моменту размыкания контактов (этап предварительного сжатия элегаза) сохранялось на необходимом уровне, поршень на этой части хода ускоренно перемещается навстречу движущемуся цилиндру (рис. 3).

Рис. 3 Дугогасительное устройство элегазового выключателя с полостью разряжения
На этапе гашения дуги (после размыкания контактов) поршень остается практически неподвижным, а дутьевой цилиндр продолжает перемещаться вплоть до своего конечного положения. Взаимное перемещение цилиндра и поршня обеспечиваются кинематической схемой привода выключателя. Сокращение времени отключения выключателя может быть достигнуто также за счет уменьшения длительности горения дуги. Так, в автокомпрессионном дугогасительном устройстве, принципиальная схема которого приведена на рис. 3, перепад давления в дутьевой системе создается не только за счет сжатия элегаза, но и за счет разряжения в объеме выхлопа через подвижный дугогасительный контакт — сопло 1. В этом ДУ по сравнению с ранее рассмотренной системой ДУ с неподвижным поршнем (см. рис. 3) имеется зона разряжения 2, которая образуется при движении дополнительного поршня 3. Отработанный элегаз сначала попадает в зону разряжения, а затем при открытии окон 4 для выхлопа под оболочку изоляционной камеры элегазового выключателя.
Совершенствование элегазовых выключателей связано с повышением номинального напряжения и номинального тока отключения на один разрыв выключателя (на один модуль выключателя), в сочетании с понижением энергоемкости приводного механизма. Однако понижение энергоемкости привода вызывает падение перепада давления в момент гашения дуги, что снижает отключающую способность выключателя. Повышение эффективности использования дугогасящих свойств элегаза при горении электрической дуги в сопловом канале возможно при выполнении сопла малого диаметра из фторопласта, что позволяет при малой энергоемкости привода обеспечить необходимый перепад давления элегаза в момент гашения дуги. В данном случае энергия дуги частично используется для повышения давления и создания дополнительного газового дутья за счет выделения элементарного углерода и CF4 с внутренней поверхности изоляционного сопла под влиянием энергии излучения.
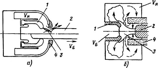
Рассмотрим конструкцию автогенерирующего элегазового дугогасительного устройства (рис. 4, а). При отключении между контактами 1 и 2 горит электрическая дуга 3. Повышение давления в межконтактном промежутке способствует увеличению давления в камере накачки Кн. В момент открытия изоляционного сопла 4 истечение газа из полости Уи в постоянный объем выключателя Уб обеспечивает продольное дутье и эффективное воздействие на остаточный ствол дуги (этап газового дутья). В фазе большого тока (в большей части полупериода тока) горловина изоляционного сопла блокируется электрической дугой отключения (рис. 4, б), что вызывает разрушение внутренних стенок сопла и увеличение его диаметра. Вопросы оптимизации проектирования подобных дугогасительных устройств связаны с оптимальным согласованием динамики привода с работой дугогасительного устройства (где эффект автогенерации ограничен требованием надежности работы данного аппарата в эксплуатации).
Изоляционное сопло. Сопло из фторопласта благодаря прочным связям С — F обладает высокой термической и химической стойкостью и может использоваться при Г от -80 до 260 °С, плотность р = 2,2 кг/м3).

Рис. 4. Дугогасительное элегазовое устройство с автогенерацией
При Т > 200 °С начинается разложение материала с выделением фторосодержащих продуктов. При контакте фторопласта с плазмой дугового разряда отмечается малая степень разрушения (по сравнению с металлами) — благодаря низкой теплопроводности и отсутствию жидкой фазы (последнее сводит к минимуму действие давления, которое играет главную роль, в частности, при разрушении металлов). На поверхности фторопласта появляются множество мелких микроуглублений, образующих эрозионную лунку. Зона поражения покрывается черным углеродным налетом (под ней зона пиролиза). Черные точки на поверхности разрушения являются центрами, в которых происходит образование газовых продуктов разложения. Выход каждого отдельного газового факела образует микролунку. Разрушение происходит за счет возгонки вещества, поэтому потери массы (по сравнению с металлами) незначительны. Когда нет прямого контакта плазмы дугового разряда с фторопластом, то основной причиной разрушения сопла является энергия излучения, поглощаемая в поверхностном слое материала. В этом случае происходит частичное разрушение молекул политетрафторэтилена с выделением газообразных продуктов (свободного углерода, CF4) и сажи. Выделение свободного углерода делает процесс разложения взрывоподобным (взрыв отдельных фрагментов фторопласта, когда на дне этих каверн образуется сажистый слой).
При неполном открытии каверн сажа не сдувается газовым потоком и электропроводный сажистый слой искажает распределение электрического поля и может приводить к снижению пробивного напряжения. Наполненный фторопласт (в качестве наполнителя берется микропорошок оксида алюминия) поглощает излучение в поверхностном слое толщиной в доли миллиметра, так как наличие частиц наполнителя приводит к усиленному рассеиванию света. В таком материале эрозия перестает идти в форме отрыва фрагментов фторопласта и отсутствует сажистый слой. Потеря массы сопла резко уменьшается, что повышает стабильность его критического сечения.
Дугогасительные автогенерирующие элегазовые устройства используются в конструкциях выключателей на средние напряжения при номинальном токе отключения 31,5 — 40 кА, а также в комбинированных автокомпрессионных выключателях высокого и сверхвысокого напряжения.
Характерной особенностью рассмотренных дугогасительных устройств является продольное газовое дутье через сопло в заключительной стадии взаимодействия потока газа с электрической дугой отключения, что обеспечивает ее гашение при переходе тока через нулевое значение.
Системы продольного дутья в элегазе.Интенсивное газодинамическое воздействие аксиального потока элегаза на ствол электрической дуги является наиболее эффективным способом гашения дуги. Поэтому оно используется в большинстве конструкций дугогасительных устройств современных элегазовых выключателей переменного тока высокого напряжения.
Типичные схемы продольного элегазового дутья приведены на рис. 5. Основными конструктивными параметрами таких систем являются: площадь сечения Sc или диаметр dc горловины сопла, относительное расположение, определяемое расстоянием z0, размеры элементов входной части сопла (zb z3), а также геометрическая форма и размеры диффузоров (z2, а — полуугол расширения), площадь сечения SBC или диаметр dBC горловины вспомогательного сопла.
Оптимальные условия для гашения дуги в таких системах во многом определяются выбором геометрических параметров дутьевых систем и особенно входной их части, которые должны удовлетворять следующим основным требованиям: форма потенциального поля течения во входной части должна способствовать коаксиальной стабилизации ствола дуги потоком. В межконтактном промежутке должна быть образована оптимальная форма электрического поля, обеспечивающая наибольшую электрическую прочность промежутка.

Рис. 5. Системы продольного элегазового дутья
Если в дугогасительных устройствах воздушных выключателей при выборе геометрических форм и размеров дутьевых систем принимают компромиссные решения, пытаясь в определенной мере удовлетворить обоим условиям, то в дугогасительных устройствах элегазовых выключателей большее внимание уделяется форме электрического поля в промежутке. Последнее вызвано тем, что появление неоднородностей в электрическом поле приводит к резкому снижению электрической прочности элегаза. Такой подход можно проиллюстрировать путем сравнения геометрической формы и размеров оконечности сплошного контакта и входной части сопла в системе одностороннего дутья элегазовых и воздушных выключателей.
"