+7 (351) 215-23-09


Переходные характеристики. Расчет переходных процессов с помощью интеграла Дюамеля

Наполнение сайта товарами, услугами, новостями и статьями

Переходные характеристики. Расчет переходных процессов с помощью интеграла Дюамеля

Переходные характеристики. Расчет переходных процессов с помощью интеграла Дюамеля

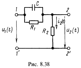
1. Рассчитать переходную проводимость y(t) цепи (рис. 8.38) и переходную функцию h(t) по напряжению. Дано:
.Решение:
1. Определим ток в цепи схемы при подключении к ее зажимам 1 — 1' в начальный момент t=0 постоянного воздействия в виде напряжения :

Разделив это выражение на амплитуду воздействия U, найдем значение переходной проводимости: 2. Выходное напряжение, по закону Ома: Разделив это выражение на U, получим переходную функцию передачи по напряжению:

2. Цепь, состоящая из последовательно соединенных R и С, включается на прямоугольный импульс напряжения U, действующий в течение времени (рис. 8.44, а). Найти выражение напряжения на емкости и ток в зависимости от времени. Построить кривые .Решение:
Расчет ведем с помощью интеграла Дюамеля. В рассматриваемом случае функция подводимого напряжения в момент претерпевает скачок, поэтому для решения должны быть использованы формулы. Сначала найдем входящие в эти формулы величины:
переходную функцию по напряжению напряжение в начальный момент , производную от заданной функции по новой переменной .
В интервале времени (не включая скачок напряжения) по формуле определим


Ток в этом интервале находим с помощью соотношения В интервале времени По уравнениям (8.1) — (8.4) на рис. 8.44, б качественно построены кривые .3. Импульс в форме полуволны синусоиды (рис. 8.46, а) включается на цепь, содержащую последовательно соединенные R=10 Ом и L=0,1 Гн.
Напряжение в интервале времени от 0 до имеет вид .
Найти ток в функции времени.

Решение:
Задачу решим с помощью интеграла Дюамеля. В интервале времени имеем Ток в этом интервале находим по формуле интеграла Дюамеля: где
Ток в интервале времени определяем с помощью интеграла Дюамеля, разбивая интервал интегрирования на два участка: первый участок , где выполняются условия (8.1), и второй участок , на котором :
Имея в виду, что и поэтому последнее выражение после некоторых упрощений можно привести к виду Из выражения (8.3), полученного для первого интервала времени в момент , ток То же значение имеет ток, полученный из выражения (8.4.). Это проверка правильности полученного решения.
По уравнениям (8.3) и (8.4) на рис. 8.58, б построена (в масштабе) кривая тока.* Этот интеграл является табличным и определяется по формуле

Смотри полное содержание по представленным решенным задачам.