+7 (351) 215-23-09


Ремонт привода ПП-67 масляных выключателей

Наполнение сайта товарами, услугами, новостями и статьями

Ремонт привода ПП-67

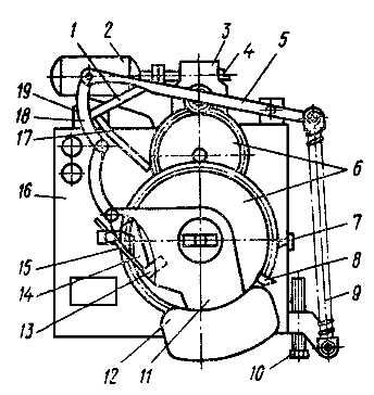
Привод ПП-67 (рис. 1, 2) - пружинный, косвенного действия, применяется с выключателями ВМГ-133 и ВМГ-10. Основные узлы привода смонтированы на металлическом сварном корпусе на наружной стенке:

автоматическое двигательное заводящее устройство, состоящее из электродвигателя, червячного одноступенчатого редуктора, системы зубчатых колес, системы рычагов, связи редуктора с включающими пружинами, контакта в переключателе ;

силовой орган привода, состоящий из трех включающих пружин, узла предварительного натяжения включающих пружин с регулировочным болтом;

сигнально-командные блок-контакты (типа КСА): положения вала, привода, состояния включающих пружин, встроенных в переключатель, и аварийные.

При технических осмотрах привод не разбирают. В случае необходимости капитального ремонта и регулировки привод разбирают с соблюдением следующих требований: включающие пружины должны быть не заведены и до минимума ослаблено предварительное натяжение, выключатель отключен, оперативное напряжение с привода снято.

Не нарушая регулировки, проверяют целость всех деталей, подтягивают ослабнувшие крепления. Особое внимание обращают на поверхность защелок 1 и 5 (рис. 3), несущих ударную нагрузку с рычагами. Трещины и сколы недопустимы. При сильном износе эти детали заменяют. Механизм привода очищают, смазывают и регулируют.

Проверяют качество зацепления защелки 1 с рычагом 6 вала, которое должно быть надежным. Величина зацепления, регулируемая винтом 8, упирающимся в планку 7 рычага 9, должна составлять 4-5 мм. В другом крайнем положении рычаг вала защелкивается удерживающей защелкой 5. Между защелками не должно быть трения, пружины возврата защелок не должны быть слабыми.

Регулируют пружинный буфер (рис. 4), назначение которого смягчать удар заводящего рычага 9 (см. рис. 3) при включении выключателя. Высоту буфера регулируют прокладками или спиливанием торца штока буфера. Величина сжатия буфера должна быть 0,5-1 мм.

Включение выключателя зависит также от состояния пружин 9 (см. рис. 1). Регулировку их производят регулировочным болтом 10. Отключающий механизм (рис. 5) регулируют винтом на релейной планке 5, так чтобы величина зацепления планки 3 ударника расцепления с роликом 4 была порядка 1 мм.

Регулировку подъема ударника (рис. 6) осуществляют винтом стойки 2. Расстояние между планкой 3 и роликом стойки 4 должно быть 2 - 4 мм. При максимальном подъеме ударника последний не должен ударять по корпусу привода. Возможные неисправности привода приведены в таблице.

Эксплуатация и ремонт электрооборудования РУ

Ремонт масляных выключателей

Ремонт контактных частей РУ

Устройство и ремонт привода ППВ (ППО)

Особенности устройства и ремонта привода ПЭ-11

Рис. 1. Привод ПП-67: 1, 5, 14, 17 и 18 - рычаги, 2 - электродвигатель, 3 - редуктор, 4 - рукоятка, 6 - зубчатая передача, 7 - упор, 8 - планка, 9 - включающие пружины, 10 - регулировочный болт, 11 - траверса, 12 - груз, 13 - зуб траверсы, 15 - отражатель, 16 -корпус, 19 - конечный выключатель

Рис. 2. Кинематическая схема привода ПП-67: 1, 3 и 26 - электромагниты, 2, 4, 10, 11 и 24 - рычага, 5 и 6 - ролики, 7 и 21 - защелки, 8 и 9 - кнопки отключения и включения, 12, 14 и 25 - оси, 13 - запорно-пусковой механизм, 15 и 28 - блок-контакты, 16 и 18 - стойки, 17 - планка, 19 - вал привода, 20 - ударник расцепления, 22 - буфер, 23 - опора релейной оси, 27 - устройство АПВ

Рис. 3. Регулировка включающего и удерживающего механизмов привода ПП-67: 1 и 5 - защелки, 2 и 7 - планки, 3 - стойка, 4 - ударник расцепления, б и 9 - рычаги, 8 - регулировочный винт

Рис. 4. Регулировка пружинного буфера: 1 - регулировочные прокладки, 2 - буфер

Рис. 5. Регулировка отключающего механизма: 7 - корпус привода, 2 - ось кронштейна, 3 и 5 - планки, 4 - ролик

Рис. 6. Регулировка подъема ударника расцепления: 1 - корпус привода, 2 и 4 - стойки, 3 - планка, 5 - ударник расцепления

Таблица. Возможные неисправности привода ПП-67 и способы их устранения

Неисправность

Возможная причина

Способ устранения

Привод не включает выключатель

Недостаточно зацепление заводящей защелки с рычагом вала

Недостаточно зацепление планки ударника расцепления с роликом удерживающей стойки

Слишком высоко поднимается ударник расцепления, в результате при падении он срывается с удерживающего ролика

Недостаточно натяжение включающих пружин

Отрегулировать зацепление в пределах 4 - 5 мм

Отрегулировать с помощью винта на релейной планке зацепление. Оптимальная величина 1 мм

Отрегулировать высоту подъема ударника, довести расстояние между планкой ударника и роликом удерживающей стойки до 2 - 4 мм

Увеличить их натяжение

Привод не отключает выключатель от действия защиты

Слабо ударяет по релейной планке боек электромагнита из-за недостаточного расстояния между бойком и планкой

Отрегулировать расстояние между бойком электромагнита и планкой релейной оси

Включающие пружины при заводке срываются - не удерживаются в заведенном состоянии

Недостаточно зацепление заводящего рычага за ролик запорно-пускового механизма

Отрегулировать запорно-пусковой механизм

Электродвигатель заводящего устройства не отключается при заводке пружин

Погнуты рычаги конечного выключателя

Выправить рычаги

Выключатель включается с недостаточной скоростью

Слабое натяжение включающих пружин

Отрегулировать их натяжение

Выключатель отключается при заводке пружин

Не защелкивается удерживающей защелкой рычаг вала

Не расходится ролик заводящего рычага с планкой ударника расцепления

Отрегулировать пружинный буфер. Увеличить натяжение включающих пружин

Увеличить высоту подъема ударника расцепления

Механизм свободного расцепления не действует

Слишком глубокое зацепление заводящей защелки с рычагом вала

Потеряла свое первоначальное натяжение пружина ударника расцепления

Отрегулировать зацепление заводящей защелки с рычагом вала до 4 -5 мм

Заменить пружину ударника расцепления

     
     

Эксплуатация и ремонт электрооборудования РУ

Ремонт масляных выключателей

Ремонт контактных частей РУ

Устройство и ремонт привода ППВ (ППО)

Особенности устройства и ремонта привода ПЭ-11