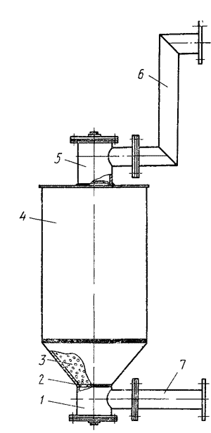
Термосифонный фильтр служит для непрерывной регенерации масла в процессе работы трансформатора и представляет собой металлический сосуд 4, заполненный силикагелем 3 и присоединенный трубами 6 и 7 к верхнему и нижнему патрубкам бака. Силикагель загружают в него через бункер 5, а отработанный высыпают через бункер 6. В бункерах установлены металлические решетки с сетками 2, предотвращающие попадание силикагеля в бак трансформатора. Циркуляция масла через фильтр основана на конвекции за счет разности температур верхнего и нижнего слоев масла. Термосифонные фильтры применяют в трансформаторах мощностью 160 кВ-А и более.

Термосифонный фильтр