Вводы трансформаторов представляют собой фарфоровые проходные изоляторы, через внутреннюю полость которых проходит токоведущий стержень, и служат для вывода концов обмоток из трансформатора наружу и подключения их к сети. Вводы устанавливают на крышке, реже на боковой стенке бака.
Внешняя конфигурация и размеры вводов зависят от класса напряжения, рода установки и силы тока. Вводы для внутренней установки имеют гладкую поверхность, для наружной установки (работающие в тяжелых атмосферных условиях — под дождем, снегом в загрязненном воздухе) отличаются более развитой наружной поверхностью (наличие зонтообразных ребер), в результате чего увеличивается путь поверхностного разряда по фарфору и электрическая прочность ввода.
В зависимости от допускаемой плотности тока в токоведущем стержне (2—4 А/мм2), определяемой его нагревом, и размера фарфорового изолятора, зависящего от класса напряжения, вводы на большие номинальные токи и напряжения имеют большие габариты и массу. Для облегчения и более эффективного использования сечения токоведущие стержни вводов 35 кВ и ниже на токи 4000 А и более выполняют полыми (из медных труб).
Вводы изготовляют на номинальные напряжения: 0,5; 1; 3; 6—10; 20; 35; 110; 120; 330; 500; 750 кВ и выше и токи: 100; 250; 400; 630; 1000; 1600; 2000; 2500; 4000 А и более.
При номинальных напряжениях 0,5 — 35 кВ включительно в трансформаторах применяют съемные (разборные) вводы, конструкция которых позволяет заменять фарфоровый изолятор (в случае его повреждения) без подъема активной части трансформатора или верхней части бака. Все съемные вводы (за небольшим исключением) являются маслоподпорными; их внутренняя полость заполняется трансформаторным маслом под давлением из бака трансформатора. Съемные вводы имеют обозначения, состоящие из букв и цифр. Буквы означают: В — ввод; С — съемный; Т — трансформаторный; А и Б — категории оборудования: У — исполнение для умеренного климата, ХЛ — холодного, Т — тропического. Цифры в числителе указывают номинальное напряжение (кВ), в знаменателе — номинальный ток к(А), после дроби цифра 1 —разборное соединение стержня ввода с обмоткой (гайками); 2 — неразборное (сваркой). Например, съемный ввод на номинальное напряжение 35 кВ, номинальный ток 100 А, с неразборным соединением стержня с отводом обмотки, для умеренного климата обозначают ВСТА-35/100-2-У; соответственно на 10 кВ, 1600 А с разборным соединением отвода обмотки со стержнем, для холодного климата — ВСТБ-10/1600-1-ХЛ.
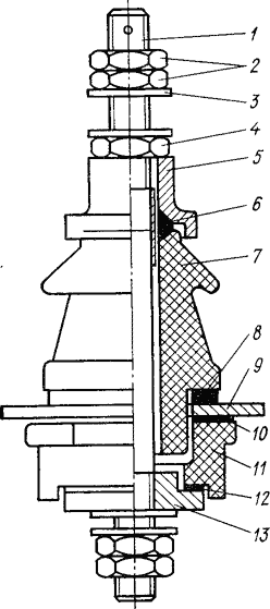
На напряжение до 1 кВ и сравнительно небольшие токи на трансформаторах устанавливают съемные составные вводы (рис. 1). Особенность устройства такого ввода состоит в том, что для его установки на крышке 9 (стенке) бака не требуется крепежных деталей (гаек, шпилек); крепление обеспечивается входящими в его устройство частями. Токоведущий стержень 1 с гайками, с навинченной латунной втулкой 13 и надетыми электрокартонными шайбами 10, 12 и фарфоровой втулкой 11 вставляют в отверстие крышки. Затем с наружной стороны крышки на стержень надевают фарфоровый изолятор 7, опирая его на крышку с предварительно приклеенной резиновой прокладкой 5, затем резиновую фасонную прокладку 6 и латунный колпак 5. Затягивают гайку 4 и стягивают ввод, одновременно прижимая его с двух сторон к крышке. Для присоединения отвода обмотки и внешней сети служат гайки и контргайки 2 и шайбы 3 нижнего и верхнего концов стержня.

Рис. 1. Съемный составной ввод на ток 400 А и напряжение 1 кВ

Рис. 2. Съемный ввод на ток 3000 А и напряжение 6—10 кВ
Вводы на напряжение до 1 кВ и большие токи крепят прижимными кулачками так же, как вводы на 6—35 кВ.
Устройство ввода на напряжение 6—10 кВ и ток 3000 А показано на рис. 2. Медный стержень 14 проходит через отверстие фарфорового изолятора 13. Верхний конец стержня уплотнен резиновым кольцом 6, втулкой 5 и гайкой 4. Стержень бортиком 12 опирается через электрокартонную шайбу 11 на уступ изолятора
13, а двумя выступами 10 входит в вертикальные пазы изолятора, что не позволяет ему проворачиваться при завинчивании гаек. Резиновая прокладка 9 уплотняет разъем между колпаком 7 и верхним торцом изолятора, а прокладка 19 — стык между крышкой и изолятором подтягиванием гаек 16 на шпильках 15, приваренных к крышке 20.
Для присоединения к электросети на стержень в верхней его части навинчивается контактный наконечник 1 с болтами 2 (с гайками и шайбами), который закрепляют болтами 3 (резьбовая часть наконечника разрезана). При токах менее 800 А для подсоединения ввода к внешней электросети стержень снабжен вместо наконечника гайками и шайбами. Гетинаксовая втулка 21 служит для центровки стержня по оси, шайбы 22 и гайки 23 — для подсоединения демпферов внутри бака, винт 5, ввинченный в латунный колпак 7, — для спуска воздуха из ввода при заполнении его маслом. Ввод крепят к крышке 20 прижимными кулачками 18. Фланец 17 служит для того, чтобы кулачки не смещались с борта изолятора.
Масло поступает во ввод под напором из бака трансформатора через зазоры между изолятором, гетинаксовой втулкой п стержнем. По мере заполнения его маслом воздух вытесняется через отверстие предварительно вывернутого винта 8.
Вводы на напряжение 35 кВ имеют дополнительную изоляцию стержня в виде надетой на него бумажно-бакелитовой трубки и более развитую поверхность фарфорового изолятора (больше ребер). Как и вводы на 6—10 кВ, их крепят к крышке прижимными кулачками с помощью установленных на ней стальных шпилек или кулачками и болтами к установочному фланцу, приваренному к крышке. При прохождении по стержню ввода тока порядка сотен и тысяч ампер вокруг него создается значительное магнитное поле, при этом возникающие в стальном фланце ввода и крышке трансформатора вихревые токи могут нагреть их выше допустимой температуры. Во избежание этого при больших токах вместо стальных или чугунных фланцев, обладающих значительной магнитной проницаемостью, применяют латунные или фланцы из других немагнитных материалов. Кроме того, уменьшение нагрева крышки достигается тем, что для установки вводов в ней вырезают общее отверстие или между отверстиями (каждого ввода) прорезают узкие щели и заваривают их диамагнитным электродом. В этих случаях магнитные потоки вводов замыкаются по общему контуру: при двух вводах с разным направлением токов магнитные потоки компенсируются как противоположно направленные; при трех вводах трехфазной системы суммарный магнитный поток равен нулю, поскольку сумма мгновенных значений токов, а следовательно, магнитных потоков трехфазной системы равна нулю.
Трансформаторные вводы на напряжения 110 кВ и выше подразделяют на маслобарьерные и бумажно-масляные. В маслобарьерных вводах основной изоляцией служит трансформаторное масло, разделенное на слои бумажно-бакелитовыми цилиндрами с уравнительными обкладками из алюминиевой фольги; в бумажно-масляных вводах на медную (или латунную) трубу плотно намотана кабельная бумага, пропитанная трансформаторным маслом и разделенная на слои уравнительными обкладками из фольги. Обкладки предназначены для выравнивания электрического ноля. Вводы заполнены дегазированным трансформаторным маслом, не сообщающимся ни с маслом бака трансформатора, ни с атмосферным воздухом, поэтому их называют герметичными маслонаполненными.
Устройство бумажно-масляного герметичного ввода на напряжение 110 кВ показано на рис. 3. Верхняя часть изоляционного сердечника 5 закрыта фарфоровой покрышкой 4, служащей внешней изоляцией, нижняя заключена в фарфоровую покрышку 9 и торцом опирается на резиновую прокладку 11, уложенную на латунный стакан 12, навинченный на конец трубы 3. Между стаканом и торцом изоляционного сердечника имеется гетинаксовая шайба 10, предохраняющая изоляцию от повреждения при навинчивании стакана и одновременно служащая дополнительной изоляцией. Между покрышками на сердечнике установлена металлическая соединительная втулка 6, к которой прилегают на резиновых прокладках торцы покрышек. Втулка отлита заодно с фланцем 14, служащим для крепления ввода болтами к крышке трансформатора. На верхнем торце .покрышки, на резиновой прокладке 10 (рис. 3, б) установлен металлический корпус 2, в котором кроме компенсаторов давления размещено устройство, стягивающее между собой корпус, покрышки, соединительную втулку и изоляционный сердечник.
Стяжное устройство состоит из гайки 23, навинченной на верхний конец трубы, ввернутых в нее болтов 24, нажимного диска 22, пружин 20 и направляющих шпилек 21. При ввертывании болтов в гайку пружины, сжимаясь, стягивают составные части ввода; осадка до требуемых размеров уплотняющих резиновых прокладок, установленных между ними, обеспечивает герметичность ввода.
В корпусе кроме пружин осевой стяжки ввода размещено устройство, компенсирующее давление масла при температурном изменении его объема, состоящее из отдельных компенсаторов — сильфонов 18, установленных по кругу (так же, как пружины вокруг трубы). Сильфон представляет собой цилиндр из латунной фольги с гофрированной боковой поверхностью, заполненный азотом или аргоном и герметично запаянный.
При повышении температуры масло, заполняющее ввод и корпус компенсатора, увеличивается в объеме и, следовательно, повышается его давление; под давлением сильфон сжимается (как гармоника), компенсируя объем и давление. При понижении температуры объем масла уменьшается и сильфон за счет разности давления газа и окружающего масла разжимается, увеличиваясь в объеме.
У вводов напряжением 220 кВ и более вследствие значительных изменений объема масла при колебании температуры сильфоны устанавливают в специальных выносных баках давления, которые заполнены трансформаторным маслом, сообщающимся с вводом гибкой трубкой из отожженной меди. Эти сильфоны имеют форму пустотелых дисков, изготовленных из тонкой белой жести.

Рис. 3. Герметичный маслонаполненный трансформаторный ввод на напряжение 110 кВ:
а — общий вид, б — устройства — стяжное и компенсирующее давление
Герметичные вводы работают под давлением масла, изменяющимся в зависимости от нагрузки и температуры окружающего воздуха. При изменении температуры от —45 до +55°С и полной нагрузке трансформатора допускаемое давление не должно превышать 20 и 280 кПа соответственно. На соединительной втулке ввода установлены вентиль 8 (рис. 3, а) для регулирования давления и подсоединения измерительного устройства с манометром, служащим для осуществления контроля за давлением масла во вводе, вывод 7 для измерения тангенса угла диэлектрических потерь и емкости внутренней изоляции ввода, характеризующих качество его изоляции (увлажненность), а также проушины для подъема ввода.
Верхнюю часть корпуса компенсатора герметически закрывает упругая металлическая диафрагма 16 (рис. 3, б), предохраняющая корпус от разрыва при чрезмерном повышении давления. Герметичность корпуса компенсатора, нижней и верхней частей ввода достигается установкой шайбообразных прокладок из маслостойкой резины, нажимных фланцев, втулок и других вспомогательных деталей. Для присоединения ввода к внешней сети служит контактный наконечник 1. Внутренний отвод обмотки соединяют с вводом гибким медным проводом, пропущенным через трубу остова ввода и впаянным в наконечник 25. При заполнении ввода маслом воздух из него выпускают через отверстие, закрываемое винтом 15 масло из ввода при необходимости сливают через отверстие в стакане, закрываемое пробкой с резьбой. Металлические детали нижней части ввода закрыты алюминиевым экраном 13, верхней части — защитным кожухом 17, экран и кожух предназначены для выравнивания электрического поля.
В настоящее время применяют только герметичные вводы, а вводы более ранней конструкции, масло которых сообщалось с атмосферным воздухом через гидрозатвор расширителя, компенсирующего расширение масла и установленного в верхней части ввода, заменяют на герметичные.
Герметичные вводы имеют обозначения, состоящие из букв и цифр, например: 110/630-У 1 (ХЛ1; Т1); ГБМТУ -220/2000-0—45 0—45-ХЛ1 (У1; Т1). Обозначения вводов расшифровывают таким образом: Г — герметичный; БМ — бумажно-масляная внутренная изоляция; Т — для трансформаторов; 0—45 — угол наклона к вертикали в градусах; 110, 220 — номинальное напряжение (кВ); 630, 2000 — номинальный ток (А); У — усиленная наружная изоляция; У1, ХЛ1, Т1 — климатическое исполнение и категория оборудования.
В последнее время на напряжение 110 кВ используют также вводы с твердой изоляцией, изоляционный сердечник которых представляет собой медную трубу с намотанной на нее кабельной бумагой, пропитанной специальным лаком. После термообработки получают монолитную твердую изоляцию. Ввод с твердой изоляцией имеет меньшие размеры и массу.