6.3.Чертеж, (эскиз) общего вида.
6.3.1.Автоматический выключатель типа АВМ

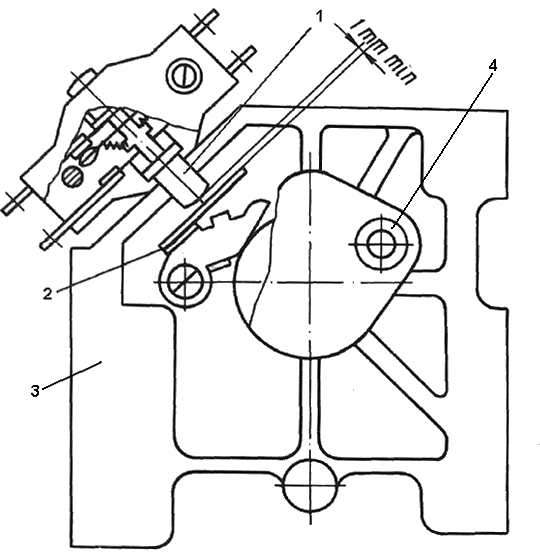
Рис. 1. Общий вид.
1 – выкатное устройство; 2 – электродвигательный привод; 3 – дугогасительные камеры; 4 – втычные контакты; 5 – съемная рукоятка для ремонта; 6 – изоляционный плата; 7 – разъем; 8 - изоляционная траверса; 9 – фиксирующее устройство.

Рис. 2. Электродвигательный привод.

Рис. 3. Блок управления с редуктором.

Рис.4 Механизм свободного расцепления.

Рис.5. Защелка.

Рис. 6. Буфер.

Рис.7. Контактна группа.

Рис.8 Максимальный расцепитель тока.

Рис.9. Независимый расцепитель.

Рис.10. Рычажный привод.
6.3.1. Автоматический выключатель «Электрон»


Рис.11.Общий вид выключателя «Электрон».
1 – контактная группа; 2 – дугогасительные устройства; 3 - механизм управления; 4 – контакты вспомогательной цепи; 5 – контакт не соответствия штепсельного разъема; 6 - втычные контакты; 7 – вкатное устройство; 8 – механический указатель.

Рис.12. Контактная группа выключателя Э-16 Рис.13. Контакты вспомогательной цепи.

Рис. 14. Механизм свободного расцепления выключателя Э-16.

Рис. 15. Независимый расцепитель.

Рис. 16 Механизм управления и взвода.
6.3.3. Автоматический выключатель «А3700».
Выключатель стационарного исполнения Выключатель стационарного исполнения



Рис.17. Автоматический выключатель А3700
1 – корпус автомата; 2 – крышка; 3 – изоляционная траверса; 4 – рукоятка управления; 5 – подвижные контакты; 6 – стальные платины дугогасительной камеры; 7 – изоляционная оправа дугогасительной камеры; 8 – пламегаситель; 9 - неподвижные контакты; 10 – максимальные расцепители; 11, 12 - выводы для присоединения внешних проводников; 13 – полупроводниковый расцепитель.

Рис. 18

Рис. 19

Рис. 20

Рис. 21


Рис. 22

Рис. 23

Рис. 24

Рис. 25

Рис.26

Рис. 27

Рис.27

Рис.28

Рис.29

Рис.30

Рис.31

Рис.26

Рис.32

Рис.33

Рис.34

Рис.35

Рис.36

Рис.37

Рис.38

Рис.39

Рис.40

Рис.41

Рис.42

Рис.43

Рис.44

Рис. 46

Рис.48 Карта смазки выключателя.

Рис.49 Карта смазки привода выключателя.
6.3.4. Автоматический выключатель «АВВК-1600»

Рис 50. Автоматический выключатель АВВК-1600
1 – дугогасительные камеры; 2 – вспомогательные выключатели; 3 – тележка автомата; 4 – кулачковый упор; 6 – позиционные шпильки; 7 – блок регулировки защит автомата; 9 – индикатор автоматического отключения; 10 – выключатель отключения электродвигателя; 11 – блокирующее приспособление; 12 – кнопка электрического закрытия; 13 – кнопка ручного отключения автомата; 14 – смотровой индикатор; 15 – поворотная заслонка; 16 – индикатор зарядки закрывающей пружины; 17 – рычаг ручного закрытия; 18 - самонастраивающаяся пылезащитная пластина; 19 – паспортная табличка; 20 – поднимающая перекладина; 21 - поворотная рукоятка;22 – направляющая выкатного устройства; 23 – выкатное устройство; 24 – защелки; 25 – фиксирующий винт; 26 – фиксатор; 27 – позиционный индикатор; 28 – рамка.
6.3.5. Блок силовой заменяющий.


Рис 51. Блок силовой заменяющий
1 - автоматический выключатель Compact NS; 2-тележка; 3 – рукоятка телескопическая поворотная 4-разъем цепей управления; 5-рьчаг блокировки