Приложение 2
Иллюстрации

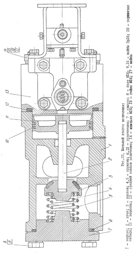
Капитальный ремонт воздушных выключателей ВВ-500Б


Капитальный ремонт воздушных выключателей ВВ-500Б

Капитальный ремонт воздушных выключателей ВВ-500Б




Капитальный ремонт воздушных выключателей ВВ-500Б



Капитальный ремонт воздушных выключателей ВВ-500Б

Капитальный ремонт воздушных выключателей ВВ-500Б

Капитальный ремонт воздушных выключателей ВВ-500Б


Капитальный ремонт воздушных выключателей ВВ-500Б




Капитальный ремонт воздушных выключателей ВВ-500Б

Капитальный ремонт воздушных выключателей ВВ-500Б


Капитальный ремонт воздушных выключателей ВВ-500Б
Приложение 3
План размещения автокрана (автовышки)

Рисунок 1. План размещения автокрана (автовышки)
Капитальный ремонт воздушных выключателей ВВ-500Б
Приложение 4
Схема строповки узлов выключателя

Рисунок 1. Схема строповки ёмкостного делителя напряжения выключателя ВВ-500Б

Рисунок 2. Схема строповки отделителя выключателя ВВ-500Б

Рисунок 3. Схема строповки омического делителя напряжения выключателя ВВ-500Б
Капитальный ремонт воздушных выключателей ВВ-500Б


Рисунок 4. Схема строповки дугогасительной камеры выключателя ВВ-500Б
Капитальный ремонт воздушных выключателей ВВ-500Б

Рисунок 5. Схема строповки опорной колонки камеры выключателя ВВ-500Б
Капитальный ремонт воздушных выключателей ВВ-500Б

Рисунок 6. Схема строповки опорной колонки отделителя выключателя ВВ-500Б
Капитальный ремонт воздушных выключателей ВВ-500Б

Рисунок 7. Схема строповки опорной колонки конденсаторов выключателя ВВ-500Б