+7 (351) 215-23-09


Наполнение сайта товарами, услугами, новостями и статьями

  1. Масляные выключатели
  2. ВПМ-10
  3. МГГ-10
  4. ВК-10 и ВКЭ-10
  5. ВМП-10
  6. АК
  7. ВМПП-10
  8. ВПМЭ-10
  9. ВМГ-10
  10. ВМГП-10
Страница 6 из 10

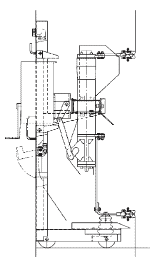
АК

Выключатель АК-10Выключатель типа АК относится к жидкостным высоковольтным выключателям с малым объемом (маломасляный) дугогасящей жидкости (трансформаторного масла).

Принцип работы выключателя основан на гашении электрической дуги, возникающей при размыкании контактов, потоком газо-масляной смеси, образующейся в результате интенсивного разложения трансформаторного масла под действием высокой температуры дуги. Этот поток получает направленное движение в дугогасительном устройстве, размещенном в зоне горения дуги.

Полное обозначение выключателя, например АК 10/600/12 расшифровывается так: АК – условное обозначение серии, 10 – номинальное напряжение в киловольтах, 600 – номинальная мощность отключения в мегавольтамперах, 12 – номинальный ток в амперах (умноженный на 100).

Выключатель управляется пружинным приводом. Оперативное включение происходит за счет энергии пружин включения привода, а отключение – за счет энергии отключающих пружин, которые срабатывают при воздействии отключающего электромагнита на защелку привода, удерживающую выключатель во включенном положении.

Масляный выключатель серии АК предназначен для включения и отключения электрических цепей в нормальном режиме работы, а также при перегрузках и коротких замыканиях.

Выключатель приспособлен для встраивания в шкафы комплектных распределительных устройств (КРУ) выкатного типа номинальным напряжением 10 кВ трехфазного переменного тока частоты 50 Гц. Производство Болгарии.

Смотри также Эксплуатация выключателей АК-10.

"