Основные узлы вентильных разрядников и ограничителей перенапряжения

Искровые промежутки служат для отделения нелинейного рабочего резистора от элементов электрической установки, находящихся под постоянным воздействием рабочего напряжения сети, для подключения НРР только в момент перенапряжений на ИП и для последующего гашения дуги сопровождающего тока. ИП должны:
1. Мало изменять свое пробивное напряжение в широком диапазоне предразрядного времени (от микросекунд до 20 мс), т. е. иметь по возможности горизонтальную вольт-секундную характеристику, и иметь минимальный разброс пробивных напряжений. Пробивное напряжение ИП вовсе не должно изменяться или изменяться в нормируемых пределах после многократного прохождения импульсных и сопровождающих токов, при колебаниях температуры окружающей среды, а также при воздействии тряски и ударов, которым разрядники подвергаются в эксплуатации и при транспортировке.
2. Надежно гасить дугу сопровождающего тока, как правило, при первом переходе его через нуль.
Однократный (единичный) ИП представляет собой воздушный промежуток между двумя электродами, выполненными из металла с хорошей теплопроводностью и с относительно невысокой температурой кипения.
В отечественных разрядниках применяются ИП следующих типов.
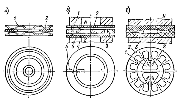
Искровой промежуток типа РВС (рис. 1, а) состоит из двух круглых латунных фигурных электродов 1 и кольцевой прокладки между ними 2 (из слюды, миканита или картона марки ЭВ). Зона пробоя ИП находится в центральной части электродов.

Рис. 1. Искровые промежутки вентильных разрядников
В этой зоне расстояние между электродами минимальное, около 1 мм, а поле между ними плоскопараллельное и практически однородное. Зона пробоя удалена от изоляционной прокладки, а напряжение перекрытия между электродами по поверхности изоляционной прокладки превышает пробивное напряжение промежутка не менее чем на 40—50 %. Такой ИП способен гасить дугу сопровождающего тока 80—90 А (электроды диаметром 55 мм, толщина 0,8 мм, прокладка — слюда или миканит) или 50—60 А (электроды диаметром 42 мм, прокладка — картон марки ЭВ). Дуга в ИП этого типа неподвижная, короткая, горящая между холодными электродами. Поэтому через несколько микросекунд после погасания дуги электрическая прочность промежутка увеличивается до нескольких вольт, а затем повышается уже более медленно и через 5 мс достигает 55—60 % первоначальной.
Среднее пробивное напряжение единичного ИП типа РВС составляет 2,8—3,2 кВ при напряжении 50 Гц (действующее значение).
Искровой промежуток с вращающейся дугой типа ИПВД (рис. 1, б) состоит из двух медных электродов, один из которых имеет форму плоского кольца 1 (наружный электрод), а другой — плоского диска 2 (внутренний электрод). Последний размещен с небольшим эксцентриситетом внутри плоского кольцевого электрода. Таким образом, между обоими электродами образуется переменный кольцевой зазор. Наименьший зазор 0,8 мм. Эксцентриситет между электродами обеспечивает пробой ИП в зоне наименьшего зазора.
С обеих сторон электродов расположены тонкие дисковые изоляционные прокладки 4, находящиеся на небольшом расстоянии от электродов (1,5—2 мм). На этих прокладках установлены кольцевые постоянные магниты 3. Магнитные силовые линии поля, создаваемого этими магнитами, перпендикулярны как поверхности электродов 1 и 2, так и стволу дуги, возникающей при пробое кольцевого зазора между этими электродами, в зоне его наименьшей ширины. Взаимодействие магнитного поля, создаваемого током дуги, с магнитным полем постоянных магнитов приводит дугу во вращение (в направлении, определяемом по правилу левой руки). Полированная поверхность медных электродов и удаленность изоляционных прокладок 4 от электродов способствует беспрепятственному вращению возникшей дуги в магнитном поле, облегчая ее гашение при первом переходе тока через нуль. Успешное гашение дуги достигается: движением опорных точек дуга по холодным электродам; отсутствием торможения дуги, находящейся в своеобразном «чехле» из раскаленных газов, изоляционными прокладками; интенсивным охлаждением ствола дуги при быстром движении его в воздухе. Скорость вращения дуги зависит от тока в дуге, напряженности магнитного поля в зазоре, состояния поверхности и от материала электродов, а также от зазора. При импульсных токах вследствие их кратковременности дуга практически остается неподвижной. В продолжение сопровождающего тока дуга совершает 17—20 оборотов вокруг внутреннего электрода.
ИП подобной конструкции (толщина медных электродов 3 мм; диаметры электродов: дискового 42 мм, кольцевого 43,8 мм) с дугостойкими прокладками из электрокартона марки ЭВ гасит дугу сопровождающего тока 500—1000 А (этот промежуток условно назван РВМГ), тех же размеров, но с прокладкой из дугостойкого материала на основе кремнийорганического лака КМК-218 успешно гасит дугу сопровождающего тока 1500 А.
Подобные ИП с диаметрами электродов 64,5 и 67,5 мм и толщиной 4 мм с дугостойкими прокладками на основе кремнийорганического лака КМК-218 успешно гасят токи 2500 А и более.
Устойчивое движение дуги в таких промежутках происходит при магнитной индукции, не меньшей 0,04 Тл, а восстанавливающаяся прочность ИП через 5 мс после погасания дуги достигает 75—80 % первоначальной прочности. Пробивное напряжение этих ИП примерно такое же, как у ИП типа РВС. При пробивном напряжении, меньшем 2 кВ, дуга не вращается.
Искровой промежуток типа РВРД (рис. 1, в) состоит из круглой керамической камеры 2, двух медных электродов 1 толщиной 3 мм и двух постоянных кольцевых магнитов 3. Камера, выполненная из пористой дугостойкой керамики, имеет внутри пространство для размещения электродов, постепенно переходящее в узкую щель. Ширина щели в зависимости от сопровождающего тока лежит в пределах от 0,7 до 4 мм. Постоянные магниты расположены с обеих сторон камеры и создают внутри камеры магнитное поле, направленное перпендикулярно стволу дуги.
Электроды расположены в одной плоскости, и минимальное расстояние между ними (пробивной промежуток) составляет 0,8—1,2 мм. Затем длина дуги существенно увеличивается. После пробоя промежутка опорные точки (основания) дуги под действием магнитного поля (магнитное дутье) перемещаются по расходящимся поверхностям электродов н длина дуги увеличивается. Когда опорные точки дуги достигают крайнего положения, дуга продолжает удлиняться, втягиваясь все глубже внутрь камеры, и заходит в узкую щель. Длина дуги в момент, предшествующий гашению, достигает 120—150 мм, в то время как первоначальная длина дуги составляла 0,8—1,2 мм. Градиент напряжения на дуге в узкой щели (В/см) Е = A, где — ширина щели, см; А — постоянная, зависящая от материала камеры. Для применяемых материалов А — 20 В/см. Падение напряжения на дуге при указанных выше длине растянутой дуги и градиенте на ней достигает 800—1600 В. Значительное увеличение падения напряжения на дуге и ее сопротивления вызывает уменьшение тока. Дуга гаснет в момент, когда напряжение, поддерживающее ее горение и приложенное извне, становится меньшим, чем суммарное падение напряжения на дуге. Этот момент может наступить в любое время. Гашение дуги может произойти ранее естественного перехода тока через нуль. Следовательно, такие промежутки ограничивают не только ток дуги, но и длительность ее существования.
Магнитная индукция, создаваемая постоянными магнитами, должна быть достаточно большой, чтобы обеспечить надежное втягивание дуги в узкую щель. Однако при слишком большой магнитной индукции дуга будет очень быстро растягиваться и падение напряжения на ней может превысить побивную прочность промежутка, что приведет к повторному его пробою. Поэтому в конструкции ИП предусмотрены меры, предотвращающие чрезмерное увеличение длины дуги.
ИП с растягивающейся дугой могут быть однополярными или двуполярными. В отечественных ВР применяются двуполярные ИП. В них направление движения дуги зависит от знака тока в момент пробоя ИП. Поэтому в двуполярных ИП электроды расположены по диаметру камеры и дуга в зависимости от направления тока втягивается в левую или в правую половину камеры.
Подобные искровые промежутки используются в разрядниках как переменного, так и постоянного тока. Они являются токоограничивающими, т. е. при прохождении через них сопровождающего тока падение напряжения на дуге составляет 15— 20 % остающегося напряжения на разряднике.
Постоянные магниты, используемые в ИП, изготавливаются из бариевой металлокерамики BaFeО4 (вместо бария могут быть и другие металлы: Ni, Со, Mn, Mg, Li) методом прессования и последующего намагничивания. Марка материала — М2БА (А— анизотропный). Этот материал сравнительно хрупкий. Его прочность на растяжение 30 МПа, а на сжатие 2000 МПа. Поэтому его рекомендуется применять с > 3, а при вибрации и тряске — с Кзап > 10.
В ИП используются по два кольцевых магнита следующих размеров: а) с наружным диаметром 56 мм, внутренним 26 мм и толщиной 6 мм и б) с наружным диаметром 76 мм, внутренним 40 мм и высотой 7,7 мм. Напряженность магнитного поля в воздушном зазоре между парой магнитов «а» и «б», соответственно равном 6 и 6 мм, составляет не менее 4,4-10* А/м.
Разброс пробивных напряжений ИП подчиняется нормальному закону и изменяется в пределах ±(0,2—0,5) % своего среднего значения. Незначительный разброс пробивного напряжения ИП достигается предварительной ионизацией пробивного промежутка при повышении на нем напряжения, которая называется активизацией или подсвечиванием ИП.
В ИП типа РВС в местах соприкосновения изоляционной прокладки с электродами создается повышенная напряженность электрического поля. При увеличении напряжения в этой зоне возникает местная ионизация воздуха (скользящий разряд). Электроны и фотоны, образующиеся в этой зоне ИП, способствуют более быстрой его ионизации. В результате пробой ИП происходит более стабильно с коэффициентом импульса, близким к единице.
В ИП с вращающейся дугой (рис. 1, б) активизация (подсвечивание) рабочей зоны промежутка обеспечивается двумя дополнительными электродами (усиками) 5 и 6, приклепанными к наружному электроду 1 и внутреннему 2 в месте наименьшего зазора между ними. Электроды 5 и 6 прижимаются к изоляционным пластинам другого потенциала, расположенным с обеих сторон основных электродов. В зоне соприкосновения электрическое поле сильнонеоднородное. При повышении напряжения здесь возникает местная ионизация, предшествующая пробою ИП.
В ИП с растягивающейся дугой подсвечивание создается двумя дополнительными электродами, соединенными с основными электродами в зоне наименьшего зазора между ними.
Многократный искровой промежуток ВР, состоящий из нескольких единичных искровых промежутков (от 4 до 11 ЕИП), соединенных последовательно и размещенных в изоляционном цилиндре (фарфор), называется комплектом ИП. Единичные ИП, образующие комплект в разрядниках РВС, сжимаются и закрепляются пружинящими крышками, закрывающими цилиндр с обеих сторон и центрирующими комплект ИП в фарфоровой покрышке ВР. Эти крышки соединены между собой посредством Ш, расположенного снаружи фарфорового цилиндра. Несколько комплектов ИП, располагающихся последовательно, образуют блок ИП. В разрядниках РВМГ в фарфоровый стакан, имеющий четыре отверстия по высоте, закладываются 20 ЕИП (5 комплектов) и 21 магнит. Потенциал каждого четвертого ИП выведен наружу. Стакан закрывается тарельчатыми крышками, к которым приклепана цепочка ШНР, располагающихся по спирали на внешней поверхности фарфорового цилиндра. Цепь ШНР имеет четыре фиксированные точки, в которых происходит соединение ее с выводами от ИП. Вся эта сборка и есть блок ИП.
В разрядниках РВМК блок ИП состоит из фарфорового стакана с четырьмя комплектами ИП, а в цепь ШНР первого и четвертого комплектов подключен поджигающий промежуток.
Пробивное напряжение многократного ИП (блока или комплекта) определяется распределением напряжения по отдельным ИП, которое без специальных мер обусловливается системой собственных емкостей разрядника, образуемой собственной емкостью единичного ИП (продольная емкость), емкостями деталей ВР на землю и на линейный вывод (т. е. на подводящий провод). Это приводит к неравномерному распределению напряжения по ИП и остальным деталям ВР, причем большее напряжение приходится на верхние ИП. В результате распределение напряжения между отдельными ИП в комплекте ИП оказывается крайне неравномерным. Эта неравномерность тем больше, чем больше ЕИП в многократном промежутке, чем больше элементов в разряднике, чем меньше собственные продольные емкости и чем больше емкости деталей разрядника на землю. Увеличение емкости ВР иа линейный вывод путем установки экранного кольца, электрически соединенного с выводом, создает требуемое распределение напряжения по отдельным блокам ИП. Неравномерность распределения напряжения по ИП вызывает снижение пробивных напряжений разрядника при промышленной частоте вследствие имеющих место каскадных пробоев ИП при перенапряжениях.
Для выравнивания распределения напряжения между ИП при промышленной частоте комплект ИП шунтируют резистором (ШНР). Он предотвращает каскадный пробой ИП и повышает пробивное напряжение ВР. В импульсных режимах ШНР практически не оказывают влияния на распределение напряжения ИП, которое остается емкостным
Вольт-секундная характеристика разрядников имеет своеобразный вид с провалом при 4—12 мкс до значений ku = 0,6:0,8. Затем несколько повышается. Для ВР с ИП типа РВС на классы напряжения до 220 кВ при 20 мкс устанавливается ku, равное 1,0—1,1; для ВР с ИП типа РВМГ (РВМК) в области предразрядного времени 500—2000 мкс, характерного для коммутационных перенапряжений, наблюдается увеличение kK до 1,2, обусловленное влиянием ШНР. Последующее некоторое снижение пробивного напряжения при промышленной частоте, по-видимому, объясняется длительностью его воздействия.
Относительная восстанавливающаяся прочность многократного ИП ниже, чем у единичного НП. Это снижение несколько усиливается с ростом числа ИП в комплекте. В комплекте из четырех единичных ИП оно не превышает 5—6 %. В дальнейшем при компоновке комплектов ИП в блоки и элементы снижения восстанавливающейся прочности не происходит.
На практике для повышения восстанавливающейся прочности многократного искрового промежутка используются две схемы: схема с поджигающим искровым промежутком (ИПП) и схема неоднородного шунтирования (активно-емкостного).
Первая схема использована в ВР с повышенным напряжением гашения (в обозначение типа разрядника введена буква П). Пробивное напряжение такого многократного искрового промежутка ИП1, ИП2 определяется пробивным напряжением ИПП, а восстанавливающаяся прочность — пробивным напряжением промежутков ИП1, ИП2, которые шунтированы ШНР. Это позволяет довести восстанавливающуюся прочность ИП до 93—95 % первоначальной.
Во второй схеме одна часть многократного ИП шунтирована нелинейными резисторами, а другая — линейными. Эта схема не получила широкого распространения.
Число единичных ИП в разряднике зависит от пробивных напряжений — частоты 50 Гц Unp 50 и импульсного нормированных для всего разрядника, и от минимальных аналогичных пробивных напряжений единичного ИП
![]()
где 1 — коэффициент, учитывающий снижение пробивного напряжения при сборке единичных ИП в комплекты; для комплекта из четырех ЕИП 1 — 0,85-:-0,9; для комплекта из 6—11 ЕИП 1= 0,75:0,8.
Полученное число искровых промежутков следует уточнить на соответствие номинальному напряжению РВ.