+7 (351) 215-23-09


Наполнение сайта товарами, услугами, новостями и статьями

  1. Ремонт вкладышей УВГ с наплавкой баббитовой поверхности
  2. Нормы допустимого отставания баббита
  3. Нормы допустимых дефектов, инструменты
  4. Приложения
Страница 4 из 4

Приложение № 1

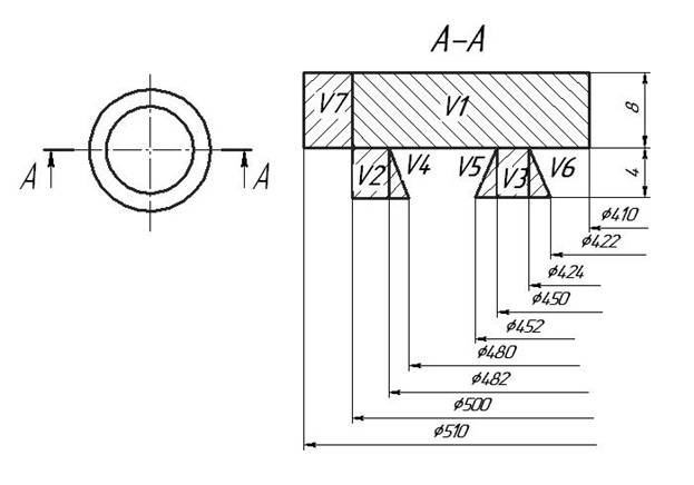
РАСЧЁТ МАССЫ БАББИТА Б-83

РАСЧЁТ МАССЫ БАББИТА

V = H* /4 (Д –d)

V1 = 514,6 см

V2 = 55,53 см

V3 = 71,4 см

V4 = 3 см

V5 = 2,85 см

V6 = 2,6 см

V7 = 63,5 см

V =713,5 см

Удельная плотность баббита Б-83 = (7.3·10) кг/см

G = 5.2кг

Приложение № 2

СХЕМА СБОРКИ ПРИСПОСОБЛЕНИЯ ДЛЯ ОБРАБОТКИ ВКЛАДЫШЕЙ УВГ

1 – вкладыш УВГ;

2 – внешнее ограничительное кольцо;

3 – внутреннее ограничительное кольцо;

4 – прокладки для обеспечения припуска баббита под обработку;

5 – разделительная пластина;

6 – струбцина.

Приложение № 3

ТЕХНОЛОГИЧЕСКАЯ ЗАГЛУШКА

ТЕХНОЛОГИЧЕСКАЯ ЗАГЛУШКА

Приложение № 4

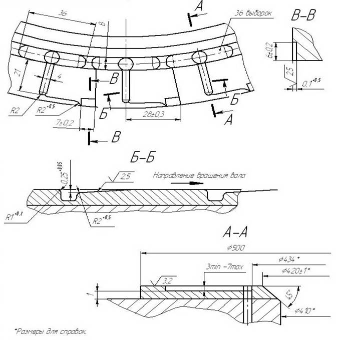
РАЗДЕЛКА ТОРЦЕВОЙ БАББИТОВОЙ ПОВЕРХНОСТИ ВКЛАДЫША УВГ

РАЗДЕЛКА ТОРЦЕВОЙ БАББИТОВОЙ ПОВЕРХНОСТИ ВКЛАДЫША

ЛИСТ РЕГИСТРАЦИИ ИЗМЕНЕНИЙ

Листов 1Лист 1
Ремонт вкладышей УВГ с наплавкой баббитовой поверхностиРАОК-4
ИзменениеНомера листов Всего листов

в документе

ФамилияПодписьДата
заменен-ныханнулиро -

ванных

новых

ЛИСТ ОЗНАКОМЛЕНИЯ

С технологической инструкцией «Ремонт вкладышей УВГ с наплавкой баббитовой поверхности» ознакомились:

п/п

ДолжностьФамилия, имя, отчествоПодписьДата