+7 (351) 215-23-09


Вращение ротора затруднено. Пусковой момент электродвигателя отсутствует



Вращение ротора затруднено. Пусковой момент электродвигателя отсутствует

НЕДОСТАТОЧНЫЙ ВРАЩАЮЩИЙ МОМЕНТ ЭЛЕКТРОДВИГАТЕЛЯ
1. Вращение ротора затруднено

Затрудненное вращение, препятствующее нормальному ускорению ротора, может быть вызвано большой нагрузкой электродвигателя или неисправностью его конструктивных частей. Большая нагрузка электродвигателя иногда является следствием неполадок в приводимой во вращение машине или передаче или же результатом ошибочных действий обслуживающего персонала. К первым из них относятся неисправности технологической машины: заклинивание ее, чрезмерное затягивание сальников (насоса), нарушение центровки валов электродвигателя и приводимой им во вращение машины, большое натяжение приводного ремня и пр. Ко второй группе Причин повышенной нагрузки относятся: большая загрузка (камнедробилки, мельницы или мешалки), закрытие клапанов (компрессора) и т. д.
В перечисленных примерах вращающий момент электродвигателя может оказаться недостаточным для поворота вала машины, соединенной с электродвигателем, и для необходимого ускорения его. Токи в линейных проводах в этом случае одинаковы и соответствуют пусковому значению. Уровень шума обычный для пускового режима. При продолжительном включенном состоянии электродвигателя наблюдается повышенное общее нагревание обмоток статора и ротора. Низкое напряжение сети может еще больше затруднить пуск электродвигателя при увеличенной нагрузке. Для проверки предположения о большой нагрузке следует разъединить валы электродвигателя и приводимой им во вращение машины (если это возможно), нормальная работа электродвигателя без нагрузки может косвенно подтвердить правильность сделанного предположения.
Неисправности электродвигателя, вызывающие затрудненное вращение ротора, обычно связаны со значительным местным уменьшением зазора между статором и ротором (см. раздел 25). К наиболее часто встречающимся неисправностям, которые могут привести к задеванию ротором статора, относятся: повреждение или большой износ подшипников, перекос подшипниковых щитов, смешение подшипниковых стоек, деформация вала. Пуск электродвигателя, имеющего неисправности перечисленных конструктивных частей, затруднен также без нагрузки; при этом величина тока в линейных проводах, присоединенных к зажимам статора, одинакова. Нагревание обмоток при продолжительном включенном состоянии электродвигателя значительное, вибрации и шум повышенные.

2. Пусковой момент электродвигателя отсутствует

Отсутствие у асинхронного двигателя начального пускового момента вызывается обычно электрическими причинами, к ним относятся: а) обрыв в сети или нарушение контактов в пусковой аппаратуре; б) обрыв в одной фазной обмотке статора при соединении его обмоток звездой или в двух фазных обмотках при соединении их треугольником; в) обрыв в двух или трех фазных цепях ротора.
Вращающий момент в асинхронном двигателе образуется в результате взаимодействия вращающегося магнитного потока и токов многофазной обмотки ротора. Наличие обрывов в цепи статора или ротора нарушает одно из необходимых условий образования вращающего момента и делает невозможным пуск электродвигателя- При сгорании одного предохранителя или обрыве провода сети напряжение на зажимах электродвигателя становится однофазным. В этом случае ток в фазных обмотках статора (двух при соединении звездой и трех при соединении треугольником) достигает амплитудного значения одновременно, а через четверть периода становится равным нулю. Таким образом, однофазный ток в обмотках статора создает пульсирующий магнитный поток, при котором начальное значение пускового момента равно нулю, т. е. при неподвижном роторе вращающий момент отсутствует.
Если при работе электродвигателя сгорит предохранитель или оборвется провод сети, то ротор будет продолжать вращаться, при номинальной нагрузке электродвигателя скорость вращения ротора немного уменьшится, а ток в проводах значительно увеличится. Правильно установленная тепловая зашита электродвигателя в этом случае должна отключить его от сети. Отсутствие необходимой зашиты может привести к значительному повышению температуры обмотки, разрушению изоляции и витковым замыканиям.

Рис. 1. Нахождение обрыва в линейном проводе измерением напряжения: а — между линейными проводами; б — на зажимах электро двигателя

Признаком сгорания предохранителя или обрыва провода является нарушение симметрии напряжения на зажимах электродвигателя. Для выявления поврежденного провода целесообразно произвести измерение напряжения между проводами сети без соединения этих проводов с зажимами электродвигателя. Если имеется повреждение в проводе 2—2 (рис. 1,а), то вольтметр, включаемый поочередно между точками 1 и 2, 2 и 3, показывает нуль, а между точками 1 и 3 — линейное напряжение.
Поврежденный провод может быть определен также измерением напряжения на зажимах включенного электродвигателя. В этом случае напряжение между зажимом С2, присоединенным к поврежденному проводу 2 (рис. 1, б), и зажимами С1 или СЗ равно половине линейного, а между зажимами С1 и СЗ равно линейному. Указанное соотношение напряжений между зажимами справедливо для соединения обмотки статора звездой и для соединения ее треугольником.
Измерение напряжения на зажимах электродвигателя следует производить при наибольшем сопротивлении реостата в цепи ротора с фазной обмоткой, а при короткозамкнутой обмотке необходимо ограничить время включения электродвигателя для уменьшения нагревания обмоток.

Если поврежденный провод определен, то необходимо проверить состояние предохранителей и исправность контактов пусковой аппаратуры. Следует иметь в виду, что указанная разница между напряжениями на зажимах электродвигателя может быть и при исправной цепи от зажимов статора до вторичной обмотки трансформатора, тогда необходимо искать повреждение на первичной стороне трансформатора.
Если линейное напряжение сети не превышает 220 В, то контроль напряжения можно выполнить лампой накаливания мощностью 40-60 Вт (запрещено в целях электробезопасности).

Рис. 2. Нахождение обрыва в линейном проводе мегомметром

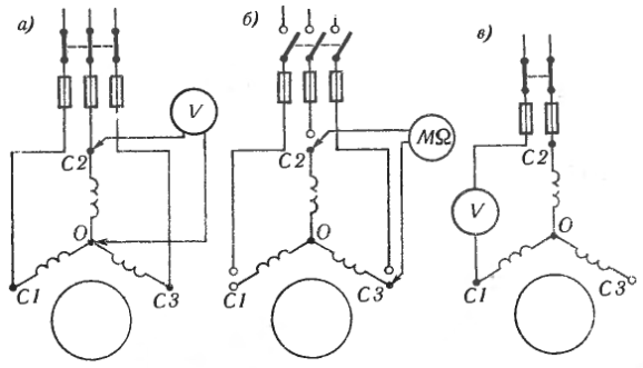
Рис. 3. Нахождение обрыва в фазной обмотке, соединенной звездой при нулевой точке. а — доступной, б и в — недоступной

Поврежденный провод может быть выявлен также мегомметром или омметром. С этой целью при отключенном пускателе соединяют провода у зажимов электродвигателя C1, С2 и СЗ в общую точку (рис. 2) и проверяют сопротивление линии между контактами 1—2, 1—3 и 2—3 пускателя. В случае обрыва провода 2—С2 сопротивление между контактами 1—2 и 2—3 будет большим, равным сопротивлению изоляций проводов, а сопротивление между контактами 1—3 будет близким к нулю (сопротивление двух последовательно соединенных проводов 1—С1 и С3—3).

Обрыв в одной из фазных обмоток статора при соединении их звездой переводит электродвигатель в однофазный режим со всеми рассмотренными ранее особенностями. Определение поврежденной фазной обмотки вольтметром без нарушения схемы присоединения электродвигателя к сети может быть выполнено только при доступной нулевой (общей) точке фазных обмоток. В этом случае производят измерение фазного напряжения между зажимами C1-0, С2-0 и СЗ-0. При обрыве в фазной обмотке С2-0 (рис. 3,а) напряжение между зажимами С1-0 и СЗ-0 будет равно половине линейного напряжения, а между зажимами С2-0 значительно больше, примерно 0,87 линейного напряжения. При доступной и недоступной нулевой точке поврежденную фазную обмотку можно выявить измерением сопротивления между зажимами статора электродвигателя с помощью омметра или мегомметра. Если имеется обрыв в обмотке С2-0 (рис 3, б), сопротивление между зажимами С1-С2 и C2-C3 будет большим, равным сопротивлению изоляции обмоток, а сопротивление между зажимами С1-СЗ будет малым, равным удвоенному сопротивлению фазной обмотки. При этом способе определения поврежденной фазной обмотки можно не нарушать схему соединения электродвигателя с сетью, но измерение сопротивления необходимо производить при разомкнутом пускателе. Определение поврежденной фазной обмотки можно также выполнить вольтметром или лампой накаливания, если изменить схему соединения электродвигателя с сетью так, чтобы поочередно подводить однофазное напряжение через вольтметр или лампу к двум зажимам электродвигателя. При наличии обрыва в фазной обмотке С2-0 (рис.3, в) стрелка вольтметра не будет отклоняться, а лампа не будет светиться, если напряжение подведено к зажимам С1-С2 или С2—СЗ, и стрелка вольтметра будет отклоняться, а лампа светиться, если напряжение подведено к зажимам С1-СЗ неповрежденных фазных обмоток.
При соединении фазных обмоток треугольником вращающийся магнитный поток создается и при обрыве в одной фазной обмотке, что обеспечивает наличие начального значения пускового момента электродвигателя. Однако работа при так называемом открытом треугольнике имеет некоторые особенности и будет рассмотрена в разделе 5.
Если фазная обмотка статора, имеющая обрыв, установлена, то для дальнейшего исследования необходима, как правило, разборка электродвигателя, чтобы получить доступ к соединениям катушек обмотки. Определение места повреждения можно выполнить, пользуясь вольтметром, лампой накаливания или омметром. К поврежденной фазной обмотке (рис. 4, а) подводят однофазное напряжение (можно через исправную фазную обмотку при недоступной нулевой точке - рис. 4, б) и измеряют напряжение на соединениях катушек. Величина подведенного напряжения (при вынутом роторе) должна быть около 0,15 номинального. В случае обрыва в одной катушке вольтметр покажет на концах этой катушки полное напряжение сети (рис. 4, а, б), а на концах исправных катушек - нуль. При наличии обрывов в нескольких катушках напряжение, измеренное поочередно на концах каждой катушки, будет равно нулю, а напряжение на всех катушках равно напряжению сети.
Для ускорения работы можно выявить сначала катушечную группу с поврежденной катушкой путем измерения напряжения на соединениях катушечных групп, а затем проверить напряжение на соединениях отдельных катушек этой катушечной группы.
Таким же образом для определения поврежденной катушечной группы может быть использована лампа накаливания, при соединении проводов лампы с концами поврежденной катушечной группы лампа будет светиться.

Рис. 4. Определение поврежденной катушечной группы: а — при включении в сеть одной фазной обмотки, б — при включении в сеть двух фазных обмоток, в — при общей точке сети и вольтметра

Можно значительно облегчить проверку, если один провод от вольтметра или лампы вместе с проводом от сети подвести к зажиму поврежденной фазной обмотки, а вторым проводом от вольтметра поочередно касаться мест соединения катушечных групп, начиная с противоположного конца обмотки (рис.4, в). При переносе места присоединения вольтметра через поврежденную катушечную группу стрелка вольтметра перестанет отклоняться (а лампа не будет светиться). Второй вариант проверки удобнее, так как позволяет ограничиться переключением только одного провода вольтметра; кроме того, в случае наличия обрывов в нескольких катушечных группах этот способ дает возможность обнаружить первую поврежденную катушечную группу. Для выявления остальных поврежденных катушечных групп необходимо соединить проводом концы обнаруженной поврежденной катушечной группы и продолжить проверку; стрелка вольтметра перестанет отклоняться (а лампа перестанет светиться) при переносе провода от вольтметра через второе место обрыва.

Для включения вольтметра (или лампы) целесообразно пользоваться острыми щупами (иглами), которыми прокалывают изоляцию в нужных местах до соединения иглы с проводом обмотки. После проверки необходимо восстановить изоляцию в местах проколов.
Устанавливать место повреждения обмотки целесообразно в электродвигателях начиная с мощности 50 кВт, когда технически возможен и экономически оправдан ремонт обмотки. В электродвигателе меньшей мощности с проволочной обмоткой статора лобовые части обмотки имеют вид кольцевого жгута, в котором трудно и не всегда возможно обнаружить соединения между катушками. Поврежденная обмотка обычно не подвергается ремонту, а заменяется новой. Только в отдельных случаях, когда состояние изоляции обмотки удовлетворительное и электродвигатель необходим для выполнения срочной работы, могут потребоваться определение места повреждения и ремонт обмотки электродвигателя меньшей мощности.
Для определения места обрыва в фазной обмотке может быть использован также мегомметр или омметр, при помощи которых измеряют сопротивление катушечных групп, а при возможности и отдельных катушек. Присоединение мегомметра (или омметра) производят щупами так же, как и вольтметра, в общих точках катушечных групп или катушек. Сопротивление целых катушечных групп очень мало, в то время как сопротивление катушечной группы, содержащей катушку с обрывом, будет большим, равным сопротивлению изоляции части обмотки. Применение мегомметра или омметра во многих случаях удобнее применения вольтметра (или лампы), так как не требует отдельного источника энергии.
При обрыве в двух или трех фазных цепях ротора симметрия линейных и фазных напряжений на зажимах статора не нарушается. Для того чтобы установить место обрыва, следует измерить напряжение на нажимах ротора включенного в сеть электродвигателя. Если вольтметр показывает одинаковое напряжение между зажимами обмотки ротора, то обрыв находится во внешней цепи ротора и необходимо проверить целость соединительных проводов и реостата. Если же напряжение между двумя парами зажимов ротора или между всеми зажимами равно нулю, то повреждение находится внутри электродвигателя. В этом случае необходимо обратить внимание на состояние скользящего контакта между щетками и кольцами, на токоотводы от щеткодержателей к зажимам ротора и на соединение обмотки с контактными кольцами.
Обрыв в цепи ротора можно установить также при помощи мегомметра или омметра. Целесообразно выполнить проверку обмотки ротора и внешней цепи раздельно, для этого необходимо отсоединить внешнюю цепь от зажимов ротора и поочередно измерить сопротивление между зажимами ротора, а затем проводов внешней цепи. Большое сопротивление указывает на наличие обрывов в проверяемой цепи.
Дальнейшую проверку обмотки ротора с целью выявления мест обрыва в ней производят так же, как проверку обмотки статора.

Смотри еще по разделу:
НЕДОСТАТОЧНЫЙ ВРАЩАЮЩИЙ МОМЕНТ ЭЛЕКТРОДВИГАТЕЛЯ

ПОВЫШЕННОЕ НАГРЕВАНИЕ ЧАСТЕЙ ЭЛЕКТРОДВИГАТЕЛЯ

ПОВРЕЖДЕНИЕ ИЗОЛЯЦИИ ТОКОВЕДУЩИХ ЧАСТЕЙ

ПОВЫШЕННЫЙ УРОВЕНЬ ВИБРАЦИИ И ШУМ ЭЛЕКТРОДВИГАТЕЛЯ

ПОВЫШЕННЫЙ ИЗНОС И ПОВРЕЖДЕНИЕ ЧАСТЕЙ ЭЛЕКТРОДВИГАТЕЛЯ