Распределительный шкаф ШРНФ-2М, расположенный вблизи выключателя, связывает пневматически и электрически три полюса выключателя в один общий агрегат и соединяет с магистралью сжатого воздуха.
Устройство шкафа, его принципиальная и монтажная схемы показаны на рис. 24 и 25.
Шкаф по отношению к выключателю должен располагаться так, чтобы оператор, находящийся у шкафа, был защищен от высокого напряжения и не попадал под струю выхлопов сжатого воздуха из выключателя.
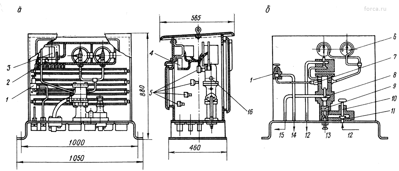
Устройство шкафа и его габаритно-установочные размеры даны на рис. 24, монтажная схема распределительного шкафа показана на рис. 25, устройство основных узлов шкафа показано на рис. 26.
Редукторный клапан (рис. 26, а) подает сжатый воздух пониженного давления в выключатель для вентиляции внутренних полостей изоляторов.
Регулирование расхода воздуха на вентиляцию производится винтом 7, расположенным в верхней части редукторного клапана. При ввертывании винта расход воздуха увеличивается, при вывертывании — уменьшается.
Блок пневматических клапанов (рис. 26, б) служит для подачи сжатого воздуха из магистрали в резервуар выключателя.
Вентиль предназначен для перекрытия доступа сжатого воздуха из магистрали в пневматический блок.

Рис. 24. Распределительный шкаф а — устройство шкафа
а — принципиальная схема шкафа (пневматическая)
1 — клапан редукторный; 2 — кнопочное устройство; 3 — промежуточное реле; 4 — подогреватель; 5 — зажимы контактные; 6 — манометры электроконтактные; 7 — клапаны для снятия редуктора и манометров; 5 — клапан обратный; 9 — фильтр; 10 — вентиль запорный; 11 — подача воздуха от магистрали; 12 — трубка для местного пневматического отключения; 13 — клапан спускной; 14 — подача воздуха на вентиляцию; 15 — подача воздуха к полюсам выключателя;
16 — подогреватель (для морозостойкого исполнения)

Рис. 25. Монтажная схема распределительного шкафа
1 — промежуточное реле РП-23; 2 — электроконтактные манометры; 3, 6 — подогреватели редуктора (~50вт); 4, 5 — подогреватели манометров (~356 вт)
Примечание. Подогреватели поз. 5 и 6 устанавливаются для морозостойкого исполнения.
Фильтр служит для механической очистки воздуха и представляет собой металлический стакан, набитый конским волосом и войлочными прокладками.

Рис. 26. Основные узлы распределительного шкафа
а — редукторный клапан
1 — фильтр; 2 — ниппель; 3 — клапан; 4 — корпус редукторного клапана; 5 — крышка: 6 — дополнительный резервуар; 7 — винт специальный; 8 — ниппель; 9 — подогреватель; 10 — дополнительный подогреватель (для морозостойкого исполнения)
б — блок пневматических клапанов
1 — клапан спускной; 2 — фильтр; 3 — обратный клапан; 4 — клапаны для снятия редуктора и манометров; 5 — вентиль; 6 — дополнительный резервуар; 7 — ниппель
в — кнопочное устройство
1 — кнопка; 2 — крышка; 3 — корпус; 4 — клапан; 5 — штуцер
Обратный клапан 3 служит для пропускания сжатого воздуха в одном направлении от фильтра к резервуару выключателя. При повреждении магистрали, а также при смене фильтра,, обратный клапан закрывается и тем самым препятствует выходу воздуха из резервуара.
К дополнительному резервуару крепятся два клапана 4, один из которых связан трубкой с редукторным клапаном, другой посредством тройника — с двумя электроконтактными манометрами. Эти клапаны служат для снятия манометров и редукторного клапана, когда выключатель находится под давлением. Для этого необходимо несколько отвернуть накидную гайку на трубке,
подсоединенной к клапану, при этом клапан закроется, и поступление воздуха в трубки прекратится. Далее отвертывается накидная гайка, и воздух из трубки выходит в атмосферу. После прекращения шипения воздуха манометры или редукторный клапан могут быть сняты.
Клапан спускной I служит для спуска воздуха из полости фильтра и корпуса вентиля. При спуске воздуха вентиль 5 должен быть закрыт.
Кнопочное устройство (рис. 26, в) предназначено, для местного пневматического отключения (неоперативного), а также для отключения выключателя в случае обрыва оперативной цепи.
Установленные в шкафу электроконтактные манометры показывают давление в магистрали и резервуарах выключателя и одновременно обеспечивают блокировку от срабатывания выключателя ори недостаточном давлении воздуха в его резервуарах.
Промежуточное реле 1 (см. рис. 25) установлено для размножения цепей электроконтактных манометров.
Редукторный клапан и манометры снабжены подогревателями.
Система вентиляцииСистема вентиляции выключателя состоит из редукторного клапана, установленного в распределительном шкафу, указателей вентиляции и обратных клапанов, установленных на полюсах выключателя.
Система работает следующим образом. Сжатый воздух пониженного давления от редукторного клапана подается к трем полюсам. У каждого полюса вентиляционный воздух разветвляется и через указатели вентиляции и обратные клапаны поступает через опорную изоляцию в гасительную камеру и отделитель, откуда через неплотности в контактах и их механизмах выходит в атмосферу.
Местное управлениеВ выключателях имеется устройство для местного пневматического трехполюсного отключения, предназначенное для ремонтно-наладочных работ. Элементы этого устройства расположены в распределительном шкафу и шкафах управления полюсов.
"