+7 (351) 215-23-09


Наполнение сайта товарами, услугами, новостями и статьями

К выключателям напряжением выше 1000 В относят разъединители, выключатели нагрузки, короткозамыкатели и отделители.

Для надежного разъединения электрической цепи служат разъединители. По наличию воздушного промежутка между подвижными и неподвижными контактами разъединителя судят о возможности безопасного производства работ на отключенном участке электроустановки.

Разъединители не предназначены для отключения электрических цепей, находящихся под нагрузкой, поэтому перед разъединением цепей они должны быть обесточены специальными выключателями. Разъединители допускают отключение и включение токов холостого хода трансформаторов определенных мощностей и линий определенных длин, а также ограниченных токов нагрузки, замыкания на землю и др. Разъединители выпускаются одно- и трехполюсными.

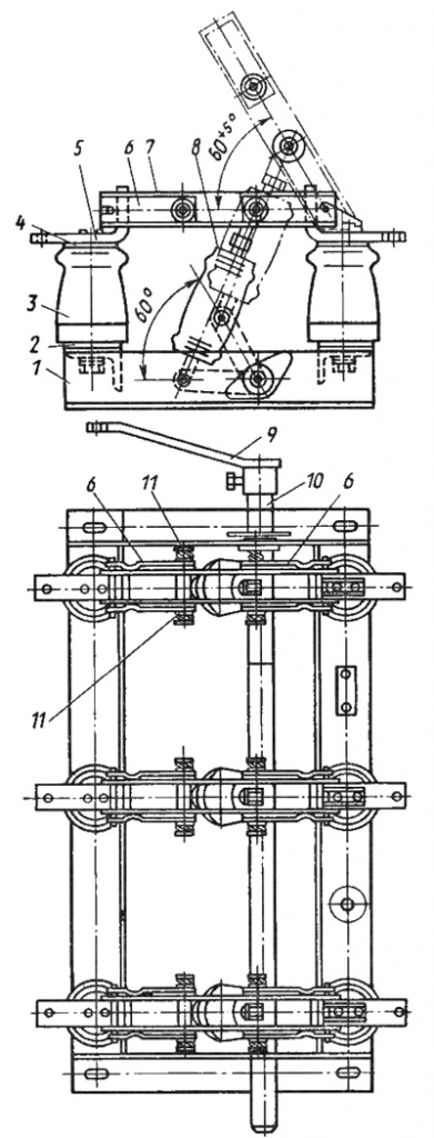
Разъединитель внутренней установки
Рис. 70. Разъединитель внутренней установки:
1 — рама; 2 — фланец; 3 — изолятор ; 4 — фланец изолятора; 5 — неподвижный контакт; 6 — подвижный контакт; 7 — нож; 8 — изоляционная тяга; 9 — рычаг; 10 — вал; 11 — пружины.

Трехполюсный разъединитель внутренней установки типа РВ состоит из рамы 1, на которой укреплены нижними фланцами 2 опорные изоляторы 3 (рис. 70). На верхних фланцах 4 изоляторов укреплены контактные системы, состоящие из неподвижных 5 и подвижных 6 контактов. Движение контактов обеспечивается внешним приводом, воздействующим через рычаг 9 на вал 10, связанный изоляционной тягой 8 с ножами 7. Контактное давление ножей создается пружинами 11. При внешних коротких замыканиях давление ножей усиливается притяжением ферромагнитных пластин подвижного контакта 6, называемых электромагнитными замками. Действие замков повышает электродинамическую стойкость контактов. Управление разъединителями производится с помощью ручных рычажных и червячных приводов.

Приводы ПР-2 и ПРА-12
Рис. 71. Приводы ПР-2 (а) и ПРА-12 (о) разъединителей и выключателей нагрузки:
1 — тяга; 2 — рычаг; 3 — сектор; 4 — ось; 5 — передний подшипник; 6 — рукоятка; 7 — ось; 8 — фиксатор; 9 — шпилька; 10 — задний подшипник; 11 — фигурный рычаг; 12 — секторный рычаг; 13 — рычаг; 14 — механизм свободного расцепления; 15 — вал; 16 — вилка; 17 — приводная тяга; 18 — электромагнит.

Ручной привод ПР-2 состоит из переднего 5 и заднего 10 подшипников, рукоятки 6, сидящей на оси 7 (рис. 71, а). Подшипники крепят друг к другу четырьмя шпильками 9. Рычаг на валу разъединителя шарнирно связан тягой с рычагом 2 привода. Рычаг 2 и сектор 3 могут поворачиваться на общей оси 4 и жестко соединены друг с другом через одно из регулировочных отверстий сектора. Фигурный рычаг 11, жестко связанный с рукояткой, соединен шарнирно тягой 1 с сектором 3 так, что при повороте рукоятки на 150 рычаг 2 поворачивается на 90°. В крайних положениях привод запирается фиксатором 8, устанавливающимся стальным пальцем в отверстия в рычаге 11 под действием собственной пружины.

Для обеспечения безопасности обслуживающего персонала в распределительных устройствах, где требуется закорачивание и заземление цепи, разъединители на напряжение 6 кВ и выше снабжают стационарными заземляющими ножами. Для исключения ошибочных действий оперативного персонала между основными и заземляющими ножами разъединителей должны быть блокировочные устройства и механические указатели положения «Включено» и «Отключено». Заземляющие ножи окрашивают в черный цвет.

Выключатели нагрузки (рис. 72) предназначены для отключения токов нагрузки до 400 А при напряжении до 6 кВ и до 200 А при 10 кВ. Их выполняют без предохранителей или с предохранителями. Выключатели нагрузки с предохранителями имеют рычажные устройства, действующие на отключающий механизм выключателя при перегорании плавкой вставки любого из трех предохранителей. Таким образом, при коротком замыкании на линии перегорает плавкая вставка предохранителя и одновременно отключается выключатель нагрузки.

Выключатели нагрузки
Рис. 72. Выключатели нагрузки ВН-16 (а), ВНП-16 (б), дугогасительная камера со снятой щекой (в), щеки и собранная камера (г):
1 — рама; 2 — опорный изолятор; 3 — дугогасительное устройство; 4 — подвижной контакт; 5 — вал; 6 — фарфоровая тяга; 7 — подвижный контакт; 8 — неподвижный контакт; 9 - пластмассовая щека; 10 — вкладыш.

Некоторые типы выключателей нагрузки имеют заземляющие устройства для безопасного производства работ на этих аппаратах. Заземляющие ножи могут располагаться с любой стороны выключателя, а предохранители — на стороне, противоположной той, где установлены заземляющие ножи.

Выключатель нагрузки состоит из рамы 1, на которой смонтирован вал 5 с рычагом, опорные изоляторы 2 с неподвижными 8 и подвижными 4 контактами (рис. 72). Вал соединен с ножами с помощью фарфоровых тяг 6. Неподвижные контакты, имеющие форму подвижного контакта 7, снабжены дугогасительными устройствами 3, состоящими из двух пластмассовых щек 9 с вкладышами 10 из газогенерирующих органических материалов. Во время разрыва цепи выключателем нагрузки образуется электрическая дуга с высокой температурой, под воздействием которой с поверхности вкладышей выделяется большое количество газов. В камере создается большое давление, способствующее быстрому гашению дуги.

Управление выключателями нагрузки осуществляют ручным приводом ПР-17; ручными автоматическими приводами ПРА-12, ПРАМ-10, ПРА-17 и др. Применение этих приводов позволяет управлять выключателями не только вручную, но и производить дистанционное и автоматическое отключение.

Наиболее распространенным приводом для включения выключателя нагрузки является ПРА-12 (см. рис. 71,6), состоящий из корпуса 11, включающего рычага, соединенного с механизмом свободного расцепления 14 рычагом 13, закрепленном на валу 15. Слева от рычага 13 установлен секторный рычаг 12, к которому подсоединена тяга для соединения механизма привода с валом выключателя нагрузки. На правом торце вала укреплен указатель положения, на левом — рычаг для присоединения тяги блок-контактов типа КСА, которые монтируются отдельно над приводом. Отключающий электромагнит 18 расположен на нижней части корпуса привода. Приводная тяга 17 соединяется с секторным рычагом 12 вилкой 16, навинчиваемой на палец тяги. Привод снабжен механизмом свободного расцепления и отключающим электромагнитом, что позволяет применять приводы ПРА для ручного и дистанционного отключения выключателя нагрузки.

Короткозамыкатели и отделители применяют в подстанциях промышленных предприятий напряжением 10 и 35 кВ для защиты силовых трансформаторов и другого электрооборудования без применения масляных выключателей. Отключение поврежденного элемента производится выключателем, установленным в начале питающей линии иногда на значительном удалении от подстанции.

Короткозамыкатель служит для создания искусственного металлического короткого замыкания при возникновении повреждения в трансформаторе. На ток этого замыкания релейная защита головного участка реагирует надежно, отключая выключатель. В системах с глухозаземленной нейтралью достаточно одного короткозамыкателя, установленного на одной из фаз. При изолированной нейтрали устанавливают два короткозамыкателя, создающих двухфазное короткое замыкание. Управление короткозамыкателями осуществляют с помощью ручного автоматического привода.

Отделитель предназначен для быстрого отсоединения поврежденного участка. Подобно разъединителю он срабатывает только после отключения цепи тока выключателем головного участка питающей линии.

При возникновении повреждений от действия защиты сначала срабатывают короткозамыкатели, вызывающие отключение выключателя, затем отделители быстро отключают поврежденный участок вместе с замкнутыми короткозамыкателями. После этого питание неповрежденной части подстанции восстанавливается действием АПВ (автоматического повторного включения) выключателя питающей линии.

Отделитель выполняют трехполюсным. Его привод подобен приводу короткозамыкателя, но срабатывает на отключение. Короткозамыкатели и отделители выпускаются на напряжение до 220 кВ включительно.

Высоковольтные выключатели

Главным назначением высоковольтных выключателей является автоматическое отключение токов короткого замыкания, а также токов других аварийных режимов (например, перегрузки) и производства оперативных переключений цепей в номинальном режиме.

В зависимости от способа гашения дуги различают масляные баковые, маломасляные, воздушные, автопневматические, элегазовые. электромагнитные и вакуумные выключатели. В распределительных устройствах находят преимущественное применение маломасляные, электромагнитные и вакуумные выключатели.

Масляные выключатели применяют в электроустановках напряжением 6 и 10 кВ. Небольшой объем масла, используемого только для гашения дуги, и прочность конструкции значительно снижают взрыво- и пожароопасность этих выключателей. Цилиндры (горшки) выключателей изготовляют из металла, и они являются токопроводящими. Поэтому их укрепляют на раме с помощью опорных изоляторов. Каждый полюс выключателя помещен в отдельный цилиндр.

Горшковый маломасляный выключатель типа ВМП-10 состоит из полюсов 7, укрепленных на опорных изоляторах 4 и смонтированных на одной общей раме 6, буферных устройств 7 и 9, и передаточного механизма привода подвижных контактов (рис. 73).

Масляный выключатель ВМП
Рис. 73. Масляный выключатель ВМП напряжением 10 кВ:
1 — полюс; 2 — пробка; 3 — подъемная скоба; 4 — опорный изолятор; 5 — пружина; 6 — рама; 7 — пружинный буфер; 8 — болт заземления; 9 — масляный буфер; 10 — маслоуказатель; 11 — главный вал; 12 — тяга.

Пружины 5 служат для создания отключающего усилия. Главный вал 11 выключателя связан с тягой 12, которая приводит в движение контактную систему. Удары при работе выключателя смягчают встроенные в раму буферы: при включении — масляный 9 и при отключении — пружинный 7. Для заливки масла на верхней крышке имеется пробка 2, а для контроля его уровня в цилиндре — маслоуказатель 10. Рама выключателя снабжена подъемной скобой 3 и болтом заземления 8.

Устройство полюса выключателя ВМП-10
Рис. 74. Устройство полюса выключателя ВМП-10 на 1000 А:
1 — резьбовое отверстие; 2, 9 — крышки; 3 — неподвижный розеточный контакт; 4 — нижний фланец; 5 — дугогасительная камера; 6 — контактный вывод; 7 — роликовый токосъем; 8 — маслоотделитель; 10 — маслозаливная пробка; 11 — направляющая колодка; 12 — корпус; 13 — передаточный механизм; 14 — направляющий контактный стержень; 15 — верхний фланец; 16 — изоляционный цилиндр; 17 — подвижный стержневой контакт; 18 - маслоуказатель; 19 - маслослнвная пробка.

Основу конструкции полюса выключателя (рис. 74) составляют стальной корпус 12 передаточного механизма 13 и изоляционный цилиндр 16, оконцованный верхним 15 и нижним 4 фланцами. Корпус сверху и нижний фланец снизу закрыты крышками 9 и 2, снабженными маслозаливной 10 и сливной 79 пробками. В верхней крышке предусмотрено выхлопное отверстие, закрытое от попадания пыли колпаком, предназначенное для выброса газов при гашении дуги. Между верхней крышкой и корпусом установлен маслоотделитель 8 для разобщения жидкой и газообразной фаз выхлопной массы. Нижняя крышка одновременно используется в качестве контактного зажима. Для крепления внешнего токоподвода служат резьбовые отверстия 7. На крышке смонтирован неподвижный розеточный контакт 3. Нижний фланец имеет глухой карман, в котором при заливке масла остается воздух, служащий демпфером при резких подъемах давления внутри цилиндра в случаях гашения мошной электрической дуги. На фланце установлен маслоуказатель 18, защищенный от повышенного давления внутри цилиндра обратным клапаном.

В нижней части цилиндра расположена дугогасительная камера 5, собранная из фибровых, гетинаксовых и электро-картонных пластин. Пластины имеют фигурные вырезы, при сборке образующие поперечные щели с раздельными вертикальными выходами вверх. Щели и вертикальные каналы способствуют образованию газового дутья. Над щелями расположены масляные промежутки-карманы. В зоне этих карманов происходит гашение слабых дуг. Более мощные дуги гасятся в зоне щелей. Камера установлена враспор между уступом цилиндра и изоляционным цилиндром, опирающимся на нижнюю крышку.

Электрическая цепь к подвижному стержневому контакту 17 подводится через контактный вывод 6, направляющие контактные стержни 14 и роликовый токосъем 7. Центрирование хода подвижного контакта по оси полюса осуществляется капроновой направляющей колодкой 11. Выключатели ВПМ-10 принципиально подобны выключателям ВМП-10, но имеют несколько иные кинематическую схему и компоновку.

Электромагнитные выключатели (ВЭМ) (рис. 75) гасят дугу в воздушной среде. Конструктивным основанием для контактной системы служат проходные изоляторы 19 и диэлектрическая стойка 23.

Устройство дугогасительной камеры
Рис. 75. Устройство дугогасительной камеры (а) и компоновка на выкатной тележке КРУ (о) электромагнитною выключателя ВЭМ:
1, 5 — главные контакты; 3, 11 — дугогасительные контакты; 4 — фторопластовое покрытие; 5 — катушка; 6 — сердечник; 7 — дугогасительный рог; 8 — решетки; 9 — полюсный наконечник; 10 — второй дугогасительный рог; 12 — шина; 13 — буферная пружина; 14 — отключающие пружины; 15 — вал; 16 — цилиндр воздушного дутья; 17 — диамагнитная накладка; 18 — дверца; 19 — проходной изолятор; 20 — опорный изолятор; 21 — шток; 22 — изолирующая тяга; 23 — диэлектрическая стойка.

Контактная система полюса выключателя состоит из главных 1, 2 и дугогасительных 3, 11 контактов. Неподвижный контакт 3 покрыт второпластом 4 для фиксации конца дуги. На контактном рычаге подвижных контактов жестко укреплен цилиндр воздушного дутья 16. В цилиндре расположен поршень, шток 21 которого шарнирно связан с изоляционным основанием оси рычага. При отключении аппарата поршни сжимают воздух в цилиндрах, выбрасывая его в зону дуги. В результате этого дуга перемещается внутрь решетки 8 с узкими щелями при малых токах отключения, когда электродинамические силы, действующие на дугу, недостаточны. Это способствует надежному гашению дуги.

Подвижные контакты связаны с валом 15 привода изолирующей тягой 22. Привод имеет отключающие 14 и буферные 13 пружины. Катушка 5 магнитного дутья одним концом присоединена к неподвижным контактам, а другим — к одному из дугогасительных рогов 7 так, что в нормальном режиме работы через катушку ток не протекает. Второй дугогасительный рог 10 постоянно присоединен к подвижным контактам шиной 12. Сердечник 6, полюсные наконечники 9 катушки магнитного дутья и замыкающая диамагнитная накладка 17 охватывают и удерживают дугогасительную камеру 8. Они крепятся к раме опорными изоляторами 20.

Дугогасительная камера состоит из тонких керамических пластин, которые собраны в пакет. Фигурные вырезы в пластинах обеспечивают удлинение дуги, а также искривление ее ствола. Сопротивление такой дуги во много раз превышает сопротивление цепи короткого замыкания. Поэтому дуга понижает ток короткого замыкания. Кроме того, уменьшается угол сдвига фаз между источником э. д. с. системы и током в момент гашения дуги. Все это способствует ее эффективному гашению.

В начальный момент гашения дуга занимает положение А (рис. 75, а). Электродинамические силы контура тока и воздушная струя поршневого устройства выталкивают дугу вверх. Дуга в виде петли касается рога 7, распадаясь на нижнюю 3 — 7 и верхнюю 7—11 ветви (положение Б). Длина нижней ветви определяется положением фторопластового покрытия 4. Эта ветвь шунтирована катушкой магнитного дутья, сопротивление которой невелико. Напряжение на этом участке дуги оказывается недостаточным для ее существования, и она гаснет. Весь ток дуги переключается в катушку, которая создает сильное поперечное магнитное поле между полюсными наконечниками 9. Взаимодействие поля с током дуги создает силу, отбрасывающую дугу в решетку со скоростью около 100 м/с. При проходе подвижного контакта мимо рога 10 дуга перебрасывается на него (положение В) и по обоим рогам поднимается вверх, углубляясь в решетку (положение Г). Там она гаснет при первом проходе тока через нулевое значение (положение Д).

Достоинствами электромагнитных выключателей являются большое число отключений, взрыво- и пожаробезопасность, отсутствие потребности в сжатом воздухе и масле. К недостаткам выключателя следует отнести большие габариты дугогасительного устройства.

Отечественная промышленность выпускает серийно электромагнитные выключатели ВЭМ-6 и ВЭМ-10 на номинальные токи до 3200 А и токи отключения до 40 кА. Работоспособность выключателей составляет до 10000 рабочих циклов.

Хорошая работа выключателей при большой частоте рабочих циклов обусловила их широкое применение в электро-печных установках, а также в шахтных установках благодаря их взрыво- и пожаробезопасности. При установке в распределительных устройствах выключатели монтируют на тележке с катками и втычными разъединителями; токопроводящие части закрывают дверцами 18 (рис. 75,6).

Вакуумные выключатели применяют на номинальные токи до 320 А при напряжении до 10 кВ. Выключатель (рис. 76) смонтирован на жесткой раме 7 и на двенадцати опорных изоляторах 4.

Общий вид тележки КРУ с выключателем нагрузки
Рис. 76. Общий вид тележки КРУ с выключателем нагрузки ВНВП-10/320 —2У2 (а) и устройство вакуумной дугогасительной камеры (б):
1 — штепсельный контакт ; 2 - дугогасительная камера; 3 — изолирующая тяга; 4 — опорные изоляторы; 5 — жесткая шина; 6 — привод; 7 — рама; 8 — контакт; 9 — сифон; 10 — экран; 11 — вольфрамовые наконечники; 12 — экран; 13 — корпус.

Дугогасительная камера 2 жесткими шинами 5 электрически связана со штепсельными контактами 1, которыми выкатная тележка с выключателем соединяется с электрическими цепями КРУ. Подвижный контакт камеры каждого полюса связан изолирующей тягой 3 с приводом 6. Вакуумная дугогасительная камера имеет герметичный изоляционный корпус 13, в котором создано разрежение около 1,3—10-6 кПа (рис. 76, 6). Неподвижный контакт жестко закреплен. Ход контакта 8 до 5 мм достигается соединением его с торцом камеры с помощью стального тонкостенного гармоникообразного элемента-сильфона 9. Нажатие контактов создается атмосферным давлением. Оба торцовых контакта оборудованы вольфрамовыми наконечниками 11. Экран 12 препятствует осаждению паров вольфрама на стенках цилиндра. Экран 10 укорачивает электрическое поле, сводя его к двум промежуткам 10—12. Они настолько коротки, что заряженные частицы не могут разогнаться на них до высоких скоростей и произвести ионизацию внутри камеры. При очень низком давлении внутри камеры электрическая прочность среды объясняется тем, что вакуум не может быть ионизирован.

При расхождении контактов в вакууме в последний момент соприкосновения их друг с другом они расплавляются и в этом месте образуется жидкометаллический мостик. Мостик нагревается настолько, что полностью испаряется. Электропроводность паров металла обусловливает возникновение вакуумной дуги. Ее особенность состоит в очень высокой скорости диффузии заряженных частиц дуги в окружающий вакуум. В результате вакуумная дуга истощается и гаснет при первом же нулевом значении тока.

Контакты в вакууме работают в тяжелых высокотемпературных условиях. Поэтому в качестве материала контактов применяют вольфрам.

Достоинством вакуумного выключателя является большое число циклов его включения-отключения: недостаток состоит в трудности создания его на большие токи и низкой ремонтопригодности.

В настоящее время выпускается выключатель ВВВ-10/320-2У2.

Приводы для управления высоковольтными выключателями разнообразны по принципу действия и конструкции. Как правило, применяют автоматические приводы, действующие от устройств защиты и автоматики и допускающие дистанционное и местное управления: ручные автоматические, грузовые, пружинно - грузовые, пружинно-маховичные, пружинные, электромагнитные.

Пружинно-маховичный привод ППМ-10 состоит из плоской спиральной пружины 4, расположенной сзади маховика, и массивного маховика 5 (рис. 77, а).

Пружинно-маховичный ППМ-10 и электромагнитный ПЭ-11
Рис. 77. Пружинно-маховичный ППМ-10 (а) и электромагнитный ПЭ-11 (б) приводы масляных выключателей:
1 — электродвигатель; 2 — редуктор; 3 — зубчатая передача; 4 — спиральная пружина; 5 — маховик; 6 — отключающая собачка; 7 — рукоятка; 8, 10 — электромагниты; 9 — сердечник; 11 — защелка; 12 — вал.

Один конец пружины жестко закреплен на корпусе привода, второй — соединен с маховиком. Взвод механизма производится от электродвигателя / через редуктор 2 и зубчатую передачу 3. Во взведенном состоянии механизм включения устанавливается на защелку. При включении высоковольтного выключателя механизм снимается с защелки. По мере раскручивания пружина расходует запасенную энергию, а раскрученный пружиной маховик к концу хода подвижных частей выключателя и привода запасает значительное количество кинетической энергии. В конце хода эта энергия расходуется импульсно, обеспечивая надежное включение выключателя. Сразу же после включения механизм автоматически взводится и устанавливается на защелку (в готовность к новому включению).

Электромагнитный привод ПЭ-11 отличается простотой конструкции (рис. 77, б). Он включается с помощью электромагнита 10, сердечник 9 которого поднимает центральную ось рычажного механизма и устанавливает ее на защелку 11. Одновременно треугольный рычаг механизма свободного расцепления устанавливается на отключающую собачку 6 и фиксирует механизм в мертвом положении. Вал привода 12, связанный с валом выключателя, при этом поворачивается на необходимый угол, устанавливая подвижную систему во включенное состояние. При отключении боек электромагнита 8 или рукоятка 7 освобождают треугольный рычаг от упора собачки 6, центральная ось смещается с защелкой 11, и пружина выключателя производит отключение.