+7 (351) 215-23-09


Наполнение сайта товарами, услугами, новостями и статьями

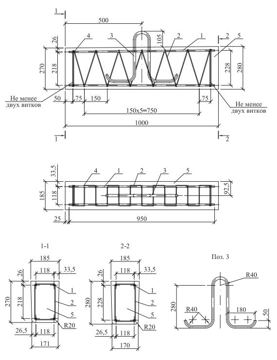
Анкер AB-1

Дополнительно по теме

Опорно-анкерные плиты П-Зи, П-4

Анкер АВ-1

Стяжки Г1, Г11

Ригель Г7

Кронштейны У1, У4, У52

Кронштейны КС2, ОТ22

Растяжка ОТ19, оттяжка ОТ20, анкерный болт ОТ21

Хомуты Х1, Х15, Х16, Х31 и Х51

Заземляющие проводники ЗП1 и ЗП6

Траверсы ТМ51, ТМ52 и TM53

Траверсы ТМ54, ТМ55 и ТМ56

Траверсы ТМ57, ТМ58 и ТМ59

Траверсы ТМ60, ТМ61 и ТМ62

Траверсы ТМ63, ТМ64 и ТМ65

Траверсы ТМ66, ТМ67 и ТМ68

Траверсы ТМ69, ТМ70 и ТМ71

Траверсы ТМ72, ТМ73 и ТМ74

Поз.

Наименование

Кол-во

Примечание

1

2

3

4

5

Стержень

А-III-10 ГОСТ5781-82, L=950

Спираль

В-I-4 ГОСТ6727-80, L=7500

Петля анкерная

A-I-16 ГОСТ5781 -82, L=1070

Проволока 2,0-0-4 ГОСТ3282-74

Бетон класса прочности В25

4

1

1

3,0 м

0,05

0,58 кг

0,73 кг

1,68 кг

0,025 кг

м куб.

 

1. Изготовление анкера может быть выполнено в нижней части металоформы, предназначенной для изготовления стоек CB110-3,5.

2. Армирование анкера рекомендуется производить с помощью вязаного каркаса, состоящего из 4 стержней и спирали.

Допускается изготовление сварного каркаса.