+7 (351) 215-23-09


Наладка механизма включения пружинного привода

Наполнение сайта товарами, услугами, новостями и статьями

Наладка механизма включения

Наладку механизма включения привода ПП-61 следует начинать с проверки зацепления защелки зацепа 7 (рис. 2) с рычагом вала привода 27. Зацепление должно происходить сразу всей рабочей поверхностью без задевания другими частями защелки за рычаг вала привода, которое может отбросить защелку зацепа во время включения выключателя в сторону и привести к отказу в работе выключателя. Величина зацепления регулируется упорным винтом защелки зацепа. Необходимо также обращать внимание на то, чтобы пружина защелки зацепа имела предварительное натяжение.

Включающий рычаг 5 в начале своего поворота упирается роликом 6 в стойку 16 и взводит ударник расцепления 22, который удерживается в этом положении роликом удерживающей стойки 23. При наладке механизма взвода необходимо проверять зазор между роликом стойки 23 и планкой 20 ударника расцепления в момент его наибольшего подъема при медленном поворачивании включающего рычага. Зазор должен быть равен 1-2 мм. При большей величине зазора будет происходить удар ударника расцепления в верхнюю стенку привода во время включения выключателя. При сильном ударе и отскоке условия удержания ударника расцепления во взведенном положении ухудшаются и могут привести к срыву операции включения. Величина зазора регулируется упорным винтом стойки 16.

После проверки и регулировки указанных величин можно приступать к проверке работы включающего электромагнита. Начинать проверку следует с измерения запаса хода сердечника включающего электромагнита при медленном подъеме его от руки. Запас хода должен быть не менее 1 мм, т. е. сердечник включающего электромагнита после освобождения включающего рычага должен иметь еще ход не менее указанной величины.

В случае короткого ударника 34 включающего электромагнита (рис. 3) или чрезмерно большого зазора между ударником и рычагом 8 удерживающее устройство может не освободить включающий рычаг при медленном подъеме сердечника электромагнита. Такой дефект часто не обнаруживается при опробовании привода в работе, так как удерживающее устройство после действия на него ударника включающего электромагнита продолжает некоторое время двигаться по инерции и может освобождать включающий рычаг уже после прекращения действия ударника.

Дополнительно по теме

Наладка заводящего устройства пружинного привода

Наладка неханизна включения пружинного привода

Наладка механизма отключения пружинного привода

Регулировка MB с пружинным приводом

Регулировка MB с электромагнитным приводом

Повышение надежности ВМП-10 и ВМГ-133

Устранить указанный дефект можно путем отгибания рычага 8 удерживающего устройства вниз. Если указанным способом добиться нормальной работы механизма включения не удастся, следует заменить ударник сердечника на более длинный. Удлинять рабочую часть ударника путем вывертывания его из сердечника с последующим закерниванием не рекомендуется из-за трудности обеспечения надежной фиксации ударника в сердечнике электромагнита.

Проверка запаса хода сердечника включающего электромагнита у привода ПП-61 К производится так же, как у привода ПП-61, но возможности его регулирования более ограничены из-за невозможности отгибания рычага 8. При недостаточном запасе хода следует проверить возможность его увеличения за счет уменьшения величины зацепления между зубом включающего рычага и роликом 11 удерживающего устройства вплоть до минимально допустимой величины. Если таким способом добиться нормальной работы механизма включения не удастся, следует заменить ударник сердечника на более длинный.

При наладке механизма включения следует проверить, чтобы ударник сердечника электромагнита не был погнут, а сердечник имел диамагнитную шайбу, препятствующую его "прилипанию", и легко двигался в гильзе электромагнита в любом положении. Внутренняя поверхность цилиндрической гильзы должна быть чистой и не должна иметь зазубрин и заусениц.

Операция включения выключателя заканчивается зацеплением рычага вала привода 27 за удерживающую защелку 24 (рис. 2). Для создания нормальных условий зацепления поверхности рычага вала и удерживающей защелки, соприкасающиеся до момента зацепления, закруглены и удерживающая защелка снабжена пружиной. Это дает возможность удерживать выключатель во включенном положении даже в том случае, когда рычаг вала привода при включении не переходит за положение включено. Если пружина удерживающей защелки будет ослаблена, то защелка при включении выключателя будет далеко отбрасываться рычагом вала привода. Чтобы в этом случае могло произойти зацепление защелки за рычаг вала привода, последний должен перевключиться и возвратиться под действием отключающих пружин выключателя не раньше, чем вернется в рабочее положение удерживающая защелка. Если рычаг вала привода возвратится раньше, то удерживающая защелка не сможет войти с ним в зацепление и выключатель окажется в недовключенном положении. В некоторых случаях может произойти неполное зацепление удерживающей защелки за рычаг вала привода.

Указанные дефекты нередко встречаются в эксплуатации, поэтому при наладке привода необходимо обра-щать внимание на состояние пружины удерживающей защелки, особенно тогда, когда выключатель не включается при нормальном натяжении включающих пружин или удерживающая защелка при включении выключателя захватывает рычаг вала привода не всей рабочей поверхностью.

После включения выключателя энергия всех подвижных частей гасится в основном буферными пружинами выключателя и привода. Чтобы буфер 25 привода ПП-61 не препятствовал включению выключателя, он должен вступать в работу только после перехода включающего рычага через включенное положение. Проверять работу буфера нужно при включенном выключателе и незаведенных включающих пружинах. В этом положении между зубом включающего рычага и штоком буфера должен быть зазор порядка 1 мм. При отсутствии зазора следует укоротить шток буфера.

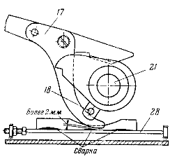
При наладке привода ПП-61К следует проверять зазор между нижним сектором переключателя блок-контактов 17 и релейной осью 28 в отключенном положении выключателя (рис. 7). Зазор должен быть не менее 2 мм. Отсутствие зазора нередко приводит к срыву операции включения. Это происходит следующим образом. Во время включения выключателя вместе с валом привода 21 поворачивается палец 18, служащий для переключения блок-контактов типа КСА. Этот палец в начале своего вращения должен скользить по внутренней грани сектора переключателя блок-контактов, не отжимая его вниз. За счет неточного соблюдения размеров при изготовлении привода палец нередко отжимает сектор переключателя вниз, который при отсутствии достаточного зазора ударяет в релейную ось. Сотрясение релейной оси может привести к срыву ударника расцепления из взведенного положения и к отказу выключателя в работе.

Для полной уверенности в надежной работе указанного узла привода следует проверять зазор между сектором переключателя блок-контактов и релейной осью при различных положениях пальца 18. Такую проверку нужно делать при медленном включении выключателя, притормаживая включающий механизм вручную с помощью заводной рукоятки.

Чаще всего причиной недопустимого уменьшения зазора между сектором переключателя блок-контактов и релейной осью является сварной шов на релейной оси с большими наплывами металла. Увеличить зазор

можно частичным спиливанием сварного шва или сектора переключателя блок-контактов.

На некоторых приводах ПП-61 К наблюдаются случаи затирания стойки 16 ударника расцепления (рис.2) и удерживающей защелки 24 в своих осях, что приводит к отказу в работе выключателя. Затирание часто происходит не на всем ходу, поэтому при наладке привода следует проверять легкость вращения стойки и удерживающей защелки во всех возможных положениях.

Рис. 7. Переключатель блок-контактов КСА привода ПП-61К. Обозначения см. на рис. 2.

Измерение напряжения срабатывания электромагнита включения производится по обычным схемам - подачей напряжения на катушку электромагнита "толчком". При этом необходимо учитывать, что заводы - изготовители приводов ПП-61 и ПП-61 К гарантируют надежную работу электромагнита включения при напряжении на его зажимах в пределах от 80 до 110% номинального.

Такой высокий предел напряжения срабатывания является недостатком указанных приводов, поэтому нужно обязательно измерять напряжение на катушке электромагнита в момент его срабатывания от рабочих источников оперативного тока. Это напряжение должно быть не ниже 90% номинального. Вместо этого допускается также делать проверку работы электромагнита включения при пониженном (не выше 0,9Uн) напряжении на шинах оперативного тока.

Работа включающего механизма зависит также от работы стойки 23, удерживающей ударник расцепления во взведенном положении. Способы регулировки и проверки работы удерживающей стойки приводятся ниже.

Дополнительно по теме

Наладка заводящего устройства пружинного привода

Наладка неханизна включения пружинного привода

Наладка механизма отключения пружинного привода

Регулировка MB с пружинным приводом

Регулировка MB с электромагнитным приводом

Повышение надежности ВМП-10 и ВМГ-133