Испытание без напряжения (Рис. 3/10, 3/11, 6/16, 6/17)
У шкафов, которые не оборудованы емкостной индикацией напряжения, контроль состояния без напряжения выполняется с помощью высоковольтного тестера на контактах 4.1. в изоляционных камерах 5 после подъема соответствующей верхней или нижней шторки 12.1 или 12.2. Для подъема шторок можно использовать модуль 129 см . рис. 6/17.
Если шкафы оборудованы устройством емкостной индикации напряжения, то испытание состояния без напряжения можно выполнить с помощью этого устройства. В этом случае необходимо действовать в соответствии с инструкциями производителя индикатора. Распределительное устройство может быть укомплектовано различными типами индикаторов, поступающими от различных производителей.
В случае каких-либо сомнений о правильности функции устройства емкостной индикации напряжения, состояние без напряжения надо проверить с помощью высоковольтного тестера.
При проверке состояния без напряжения всегда поступайте в соответствии с соответствующими правилами техники безопасности и местными производственными условиями!
Испытание напряжением и током (Рис. 6/4, 6/16, 6/20)
Для выполнения испытаний током и напряжением в распоряжении имеется испытательная и заземляющая тележка 142. Она годится, например, для подачи тока к трансформаторам тока при выполнении испытаний защит и для подачи напряжения при проведении испытаний изоляции.
Отключите и обезопасьте пространство, где должны выполняться работы в соответствии с соответствующими правилами техники безопасности.
Присоединительный кабель испытательного трансформатора для питания первичным током прикрепите к контактным стержням 142.7.
Шары 142.4 для испытания переменным напряжением установите на контактные стержни. Отверстие в шаре служит для присоединения напряжения питания.
Закорачивающий мостик 142.8 для испытания током (например, малых подключенных генераторов) необходимо прикрепить к контактным стержням.
Примечание:
Для выполнения испытания переменным промышленной частоты или импульсным напряжением надо соблюдать следующее:
Все трансформаторы напряжения и емкостные делители надо надо отсоединить и закрыть изолирующей пластиной.
Сервисные тележки
Вместо заземления, закорачивания и испытаний с модулем 142 (см. рис.6/18, 6/19 и разделы 6.2.9, 6.3.1, 6.3.2), возможно применение сервисных тележек. Эти тележки бывают 4 различных типов : Заземляющая тележка без включающей способности
Эти тележки выполняют те же функции, что и заземлители без включающей способности. Таким образом, при
аварии, они не могут заземлять части, находящиеся под напряжением. Они применяются для надежного присоединения дополнительного заземления для гарантированной безопасности персонала. Применение этих тележек необходимо для удаления выключателя или контактора из распределительного устройства и их перемещения при помощи тележки. Устройства, настроенные для использования заземляющей тележки, комплектуются замком, который при активации предотвращает вкатывание.
Тележки бывают двух исполнений:
для заземления системы сборных шин;
для заземления силовых кабелей.
При вкатывании, тележка заземления сборных шин поднимает верхнюю шторку и заземляет контакты, присоединенные к верхним ответвлениям (и следовательно к системе сборных шин) посредством структуры распределительного устройства.
При вкатывании, тележка заземления силовых кабелей поднимает нижнюю шторку и заземляет контакты, присоединенные к нижним ответвлениям (и следовательно к силовым кабелям) посредством структуры распределительного устройства.
Эти тележки могут применяться в шинных соединениях. В этом случае они заземляют две строны главной системы сборных шин.
Заземляющая тележка со включающей способностью
Эти тележки выполняют те же функции, что и заземлители со включающей способностью. Они состоят из выключателей, укомплектованных только верхними (заземление сборных шин) или нижними (заземление силовых кабелей) терминалами. Контакты без терминалов коротко замкнуты посредством медной шины и заземлены посредством аппаратной тележки. Они имеют все характеристики выключателей, такие как полная включающая способность и возможность отключения при аварии частей, находящихся под напряжением. Они используются для надежного и очень эффективного заземления при аварии. Они позволяют производить быстрое отключение и включение с дистанционным контролем электрических параметров.
Применение этих тележек необходимо для удаления выключателя или контактора из распределительного устройства и их перемещения при помощи тележки. Устройства, настроенные для использования заземляющей тележки, комплектуются замком, который при активации предотвращает вкатывание. Тележки бывают двух исполнений:
для заземления системы сборных шин;
для заземления силовых кабелей.
При вкатывании, тележка заземления сборных шин поднимает верхнюю шторку и подстраивает контакты, присоединенные к верхним ответвлениям (и следовательно к системе сборных шин), к заземлению. Весь процесс контролируется.
При вкатывании, тележка заземления силовых кабелей поднимает нижнюю шторку и подстраивает контакты, присоединенные к нижним ответвлениям (и следовательно к силовым кабелям), к заземлению. Весь процесс контролируется.
Эти тележки могут применяться в шинных соединениях. В этом случае они заземляют две стороны главной системы сборных шин.
Тележка для испытания силовых кабелей
Эта тележка позволяет проводить испытания изоляции кабелей без необходимости доступа внутрь шкафа и отсоединения кабелей от распределительного устройства.
Применение этих тележек необходимо для удаления выключателя или контактора из распределительного устройства и их перемещения при помощи тележки. При вкатывании, тележка поднимает нижнюю шторку при помощи соединителей, позволяющих подключить кабели.
Эта тележка может применяться только в шкафах входящей/отходящей линии. Тележка разъединителя
Тележка разъединителя позволяет напрямую соединять верхние и нижние контакты распределительного устройства. Соединение очень надежно, так как применяются полюса выключателя HD4/GT для изоляции соединительных шин от внешней среды. В шкафу входящей/ отходящей линии, эта тележка соединяет систему сборных шин и силовые кабели, в шинном соединении это относится к двум сторонам системы сборных шин. Эта тележка используется в КРУ UniGear ZS1, в шкафах входящей/ отходящей линии без выключателей, для кабельного соединения между двумя КРУ, расположенными "передняя стенка к передней стенке", для переходных модулей и для шинных соединений с двойной изоляцией ( в этом случае в шинной секции один шкаф ставят с секционным выключателем, а второй с тележкой секционного разъединителя).

Рис. 6/1: Резьбовой замок в двери
1.18 Резьбовой замок 145 Ключ
Рис. 6/2: Замок двери отсека низковольтного оборудования 1.17 Замок
Рис. 6/4: Ручное управление выдвижной частью с выключателем VD4
13.2 Кнопка механического отключения
Механический указатель состояния выключателя
Механический счетчик коммутационных циклов

Рис. 6/3: Микропроцессорное устройство защиты и управления REF 542plus
13.8 Указатель состояния взвода пружины 13.11 Подвижная рукоятка, соединенная с защелкой на выдвижной кассете 128 Рычаг взвода пружины


Рис. 6/5: Перед тем, как вставить рукоятку, надо открыть
отверстие для нее поверните задвижку с помощью ключа
121.1 Задвижка 145 Ключ
Рис. 6/6: Перемещение выдвижной части между контрольным/ испытательным положением и рабочим положением производится вращением рукоятки в направлении вращения часовой стрелки до упора в рабочее положение и против направления вращения часовой стрелки в контрольное(испытательное) положение.
121 Рукоятка
Рис. 6/7: Разъем цепи управления, заблокированный для
предотвращения отсоединения в рабочем положении
Шт.розетка цепей управления

Штепсель цепей управления 32 Блокировка
Механическая кнопка управления

Рис. 6/8: Механическое управление выключателем на двери шкафа
(нестандартное исполнение) выдвижная часть находится в рабочем положении
Рукоятка
Рис. 6/9: Сервисная тележка, подсоединенная к шкафу,
выдвижная часть с выключателем разъединяется для выкатывания после нажатия подвижных рукояток 13.11 по направлению внутрь.
Рис. 6/10:

13 Выдвижная часть с выключателем 13.11 Подвижная рукоятка 124 Сервисная тележка
Выдвижная часть с выключателем на сервисной тележке и зафиксированная защелками 13 Выдвижная часть (с выключателем VD4)
Подвижная рукоятка
Защелка (соединенная с подвижной рукояткой 13.11)
124 Сервисная тележка
124.1 Вращающее колесико для настройки высоты

124.4 Рычаг для освобождения защелки 124.3

Рис. 6/11: Положение сервисной тележки регулируется
направляющими штифтами на необходимой высоте, затем тележку придвиньте к шкафу так, чтобы защелка зафиксировалась.
Вращающее колесико для настройки высоты
Направляющий штифт

Рис. 6/12: Вид в отсек выключателя
10.1 Разъем цепей управления
Верхняя шторка
Нижняя шторка
14 Привод заземлителя
14.1 Вал управления заземлителя
42 Правая направляющая
Канал цепей управления
Защелка


Рис. 6/13: Подготовка для управления заземлителем в шкафу ввода / вывода прежде всего, нажмите на задвижку направлением вниз
Рис. 6/14: Подготовка для управления заземлителем в шкафу ввода / вывода рычаг управления подготовлен для ВКЛ. / ОТКЛ.
Шестигранный вал привода заземлителя


Рис. 6/16: Индикатор напряжения на дверях отсека низковольтного оборудования. Возможно использование разных типов индикаторов различных производителей
Задвижка
Рис. 6/15: Ручной взвод пружины выключателя HD4/GT
122 Рычаг управления
90 Элегазовый выключатель (SF) типа HD4/GT 90.8 Рычаг взвода пружины
125 Индикатор напряжения
12.1 Шторка
19.3 Заземляющий зажим
133.1 Кабель заземления
135 Предупредительная табличка

Рис. 6/17: Модуль для управления шторками - вид сбоку.
Пластины для управления шторками надо привинтить в верхнем положении для управления нижней шторкой или в нижнем положении для управления верхней шторкой. Указано в качестве примера.
Рис. 6/18: Заземление на нижних контактных стержнях
142 Заземляющий модуль
129 Модуль для управления шторками 129.1 Пара съемных пластин для управления шторками

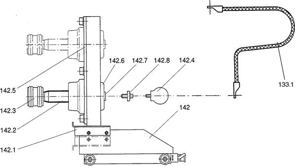
Рис. 6/19: Испытательный и заземляющий модуль, включающий:
съемные пластины для управления шторками - верхнее положение для подъема нижней шторки
- нижнее положение для подъема верхней шторки
съемные контакты - нижнее положение для кабелей съемные - верхнее положение для сборных шин
изоляционная пластина с альтернативными монтажными положениями для заземления кабелей или сборных шин (повернуть на 180 для заземления сборных шин)
съемные контактные системы для разных диаметров контактных стержней в распределительном устройстве
съемный шар для испытания напряжением
закорачивающее соединение - можно заменить шарами 133.1 Заземляющий кабель
142 Испытательный и заземляющий модуль с ручным приводом
Пара пластин для управления шторками
Контакты (3 шт.)
Контактные системы
Шары (3 шт.)
Изоляционная пластина с 3-мя съемными проходными изоляторами
Проходные изоляторы
Контактный стержень
Закорачивающее соединение, комплектное


Рис. 6/20:
Горизонтальная перегородка 20 с дополнительной вентиляцией распределительного устройства, предназначенного для более высоких номинальных токов, или работающего в среде с повышенной температурой окружающего воздуха (> 400 C) или при повышенной частоте (60 гЦ) см. раздел 1.3. Внутренний клапан представлен в рабочем положении (открытия). Вид сбоку, без концевого выключателя и флюгарки. Это исполнение нестандартное.
| 20 | Горизонтальная перегородка с |
| дополнительным вентиляционным | |
| устройством | |
| 20.3 | Клапан |
| 20.4 | Листовая пружина |
| 20.5 | Контрольное отверстие |
| 20.6 | Зажим |
| 20.7 | Центробежный вентилятор |
Рис. 6/21: Горизонтальная перегородка с дополнительным
вентиляционным устройством, контроль свободного передвижения внутреннего клапана 20.3
20.5 Контрольное отверстие


Рис. 6/23: Ручное аварийное выключение вакуумного выключателя VM1 с магнитным приводом
Рис. 6/22: Нижняя шторка, замкнутый с помощью навесного замка и предназначенный для предотвращения недопустимой операции
38 Рычаг для управления шторками 130 Навесной замок (поставляет заказчик)
31.28 Рукоятка аварийного выключения (для выключателя VM1)
Примечание:
При работе с рукояткой ручного аварийного выключения 31.28 необходимо преодолеть механическое сопротивление натяжению вспомогательной пружины и в конце вращательного движения

Рис. 6/24: Аксессуары
Рычаг ручного аварийного выключения выключателя VM1
Вспомогательная пружина для обеспечения выключающей способности выключателя VM1 90.8 Рычаг для взвода пружины выключателя HD4/GT
Рукоятка для перемещения выкатной части внутри шкафа.
Рукоятка управления заземлителем
128 Рукоятка для взвода пружины выключателя VD4
Ключ для двери (для центрального замка или резьбового замка)
Рукоятка (для центрального замка или резьбового замка)