+7 (351) 215-23-09


Инструкция по эксплуатации дизель-генератора 15Д100 - Приспособления используемые при ремонте узлов

Наполнение сайта товарами, услугами, новостями и статьями

  1. Инструкция по эксплуатации дизель-генератора 15Д100
  2. Область применения технологии
  3. Требования к персоналу, периодичность пересмотра
  4. Организационные мероприятия
  5. Технологические ограничения проведения работ
  6. Технология проведения работ
  7. Технологические карты обслуживания и ремонта
  8. Контроль и испытание
  9. Регулировка при испытаниях
  10. Технические средства, применяемые при ремонте
  11. Документация
  12. Таблица зазоров при разборке и сборке
  13. Перечень деталей
  14. Акт сдачи в ремонт
  15. Акты испытаний и проверок
  16. Ведомости
  17. Указания по сборке, разборке отдельных узлов
  18. Приспособления используемые при ремонте узлов
  19. Перечень оборудования в составе 15Д100
Страница 18 из 19 Приложение 18

Приспособления, которые используются при ремонте узлов

дизель – генератора.

Рис. П1. Ключ для нижних коренных подшипников. ([3] рис 165, стр 499)

1 и 2 – ключи; 3 – рукоятка; 4 – труба.

Ключ для нижних коренных подшипников
Рис. П2. Ключ верхних коренных подшипников. ([3] рис 166, стр 500)

1 и 2 – ключи; 3 – труба; 4 – ломик.

Ключ верхних коренных подшипников
Рис. П3. Ключ для гайки болта шатуна.

([3] рис 167, стр 501)

Рис. П4. Приспособление для установки и снятия поршневых колец.

([3] рис 168. стр. 503)

Рис. П5. Съемник для гильзы цилиндра.

([3] рис 169. стр. 504)

Рис. П6. Съемник шпилек с рубашки гильзы.

([3] рис 170. стр. 505)

1 – съемник; 2 – шпилька; 3 – болт.

Рис. П7. Ключ для отворачивания и заворачивания адаптеров на гильзе цилиндра

([3] рис 171. стр. 506)

1 – стержень ключа; 2 – накидная гайка;

3 – адаптер.

Рис. П8. Ключ для гайки верхнего вала вертикальной передачи

([3] рис 176. стр. 512)

1 – корпус ключа; 2 – рукоятка.

Рис. П9. Ключ для гайки упорных подшипников вертикальной передачи

([3] рис 177. стр. 514)

1 – гайка; 2 - рукоятка ключа; 3 – головка ключа; 4 - палец.

Рис. П10. Съемник ступицы верхнего вала вертикальной передачи.

([3] рис 178. стр. 515)

1 – фланец; 2 - болт; 3 – ступица; 4 – упор, 5 - винт

Съемник ступицы верхнего вала
Рис. П11. Съемник корпусов с подшипниками с валов вертикальной передачи.

([3] рис 179. стр. 516)

1 – захват; 2 - распорная втулка; 3 – корпус; 4,6 – болты; 5 – рычаг; 7 – крестовина; 8 – домкратный винт; 9 – упор.

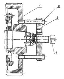
Рис. П12. Рым для выемки рабочего колеса воздуходувки.

([3] рис 181. стр. 519)

1 – рым; 2 – вал рабочего колеса.

Рым для выемки рабочего колеса
Рис. П13. Ключ для гаек крепления опорных подшипников воздуходувки.

([3] рис 182. стр. 520)

1 – корпус ключа; 2 – зуб; 3 - рукоятка.

Рис. П14. Ключ для гаек крепления упорных подшипников и шестерен воздуходувки.

([3] рис 183. стр. 521)

1 – зуб ключа; 2 – корпус; 3 - рукоятка.

Рис. П15. Съемник ведущих шестерен воздуходувки.

([3] рис 184. стр. 522)

1 – фланец; 2 - упор; 3 – домкратный винт; 4 – болт; 5 и 6 – шестерня.

Рис. П 16. Съемник ведомой шестерни воздуходувки.

([3] рис 185. стр. 523)

1 – шестерня; 2 - болт; 3 – фланец съемника;

4 – домкратный винт;

Рис. П 17. Приспособление для снятия эластичного привода воздуходувки.

([3] рис 186. стр. 525)

1 – шестерня; 2 и 3 - болт; 4 – планка;

5 – коленчатый вал;

Рис. П 19. Ключ для гаек крепления форсунки и трубы подвода масла к дизелю.

([3] рис 190. стр. 530)

1 – головка ключа; 2 – труба; 3 – наконечник ключа;

Рис. П 19. Съемник подшипника шестерни привода валов топливных насосов.

([3] рис 187. стр. 526)

1 – болт; 2 - подшипник; 3 – планка;

4 – крюк; 5 – шестерня

Рис. П 20. Съемник шестерни верхнего коленчатого вала.

([3] рис 188. стр. 527)

1 – рым - болт; 2 – фланец съемника; 3 – домкратный вал; 4 – кольцо; 5 – упор; 6 – болт; 7 – шестерня.

Рис. П 21. Торцовый ключ для гаек крепления топливных насосов.

([3] рис 189. стр. 529)

1 – ключ; 2 - рукоятка;

Рис. П 22. Насос для испытания форсунок.

([3] рис 192. стр. 532)

1 – насосный элемент; 2 - шкала; 3 – форсунка; 4 – накидная гайка; 5 – манометр; 6 – кран; 7 – пробка; 8 – рукоятка.

Рис. П 23. Съемник седла нагнетательного клапана топливного насоса.

([3] рис 194. стр. 535)

1 – нагнетательный клапан; 2 – головка съемника; 3 – корпус; 4 – винт; 5 – гайка; 6 – рукоятка.

Рис. П 24. Приспособление для выемки щелевого фильтра форсунки.

([3] рис 195. стр. 536)

1 – щелевой фильтр; 2 – шпиндель; 3 – упор;

4 – гайка; 5 – шплинт.

Рис. П 25. Угольник установки ВМТ.

([3] рис 196. стр. 537)

1 – угольник; 2 – коленчатый вал.

Рис. П 26. Ключ – трещотка.

([3] рис 197. стр. 538)

1 – рукоятка; 2 – защелка; 3 – головка ключа; 4 – вал; 5 – ведущий диск п/муфты привода генератора; 6 – червяк.

Рис. П 27. Опорный брус.

([3] рис 199. стр. 541)

1 – планка; 2 – брус; 3 – упор.

Рис. П 28 Приспособления для выемки поршня:

а) Щипцы для снятия стопорного кольца;

б) Рым для выемки верхнего поршня: 1 – рым; 2 – поршень; 3 – стопорное кольцо; 4 – фланец; 5 – труба.

Рис. П 29. Опорный стержень.

([3] рис 201. стр. 543)

1 – рукоятка; 2 – труба; 3 – наконечник.

Рис. П 30. Опора для верхнего шатуна.

([3] рис 202. стр. 544)

1 – шатун; 2 – накладка; 3 – кольцо;

4 - кольцо.

Опора для верхнего шатуна
Рис. П 31. Хомут для заводки поршня с кольцами в гильзу цилиндра.

([3] рис 204. стр. 547)

1 – кожух; 2 – серьга; 3 – штифт;

4 - шарнир; 5 – специальный винт.

Рис. П 32. Метки на ведущем диске муфты привода генератора.

([3] рис 129. стр. 378)

Рис. П 33. Лебедка для монтажа и демонтажа поршня с шатуном.

([3] рис 203. стр. 546)

1 – червячная шестерня; 2 – червяк; 3 – барабан; 4 – крюк; 5 – трос.

Рис. П 34. Игла для прочистки сопловых отверстий распылителя.

([3] рис 193. стр. 534)

1 – сопловой наконечник; 2 – игла;

3 – патрон; 4 – рукоятка.