+7 (351) 215-23-09


Воздушные вводы в объекты проводами, в том числе через трубостойки

Наполнение сайта товарами, услугами, новостями и статьями

Воздушные вводы в объекты проводами, в том числе через трубостойки

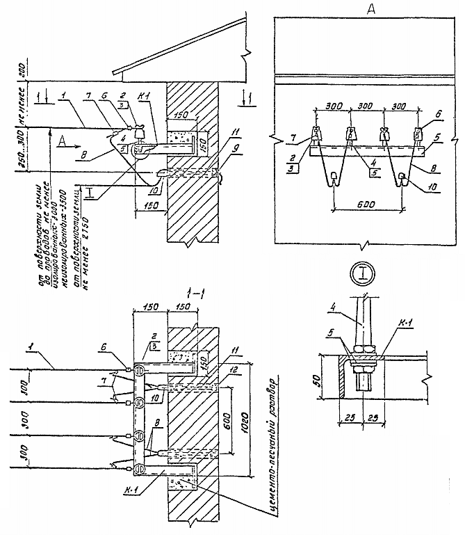
Двух- и четырехпроводные вводы в объекты проводами при ответвлении от ВЛ неизолированными (изолир.) проводами. Стены кирпичные (бет.) (докум.- 7)

Поз.

Наименование

Кол-во при вводе

Примечание

2-х пр.

4-х пр.

1

Провод ответвления от ВЛ А16 ГОСТ 839-80Е

   

по проекту

2

Изолятор ТФ-16 ТУ16-90 ИМБШ.757516.001

2

4

3

Колпачек КП-16М ТУ34-09.11232-87

2

4

4

Крюк КН-16 ГОСТ17783-72

2

4

5

Зажим ПА-1-1 ТУ34-13-10273-88

2

4

 

6

Сжим (зажим) У867ХЛ1 ОСТ36-69-82

2

4

 

7

Провод АПРН 2х4 (4х-) ТУ16-705.456-87

   

по проекту

8

Втулка В ГОСТ13871-78Е

1

1

 

9

Трубка резиновая полутвердая ТУ38.105.1832-88

1

1

 

10

Втулка ВТК ГОСТ13871-78Е

1

1

 
 

1. Чертеж приведен для двухпроводного ввода. Для четырехпроводного ввода приведена схема разметки отверстий под крюки изоляторов и проход проводов через стены.
2. Для двухпроводных вводов допускается вертикальное расположение проводов с расстоянием между проводами не менее 400мм см. докум. - 10.
3. При больших сечениях проводов ввода допускается устройства проходов в стене под каждый провод.
4. Устройства проходов для проводов ввода через стены см. докум. - 38.
5. Схему присоединения проводов ввода к проводам ответвления см. докум. - 48.
6. Крепление изолированных проводов марки АПРН к изоляторам осуществляется с помощью проволочной вязки.
7. Спецификация дана на устройство 2-х и 4-х проводного ввода.

Четырехпроводный ввод в объекты проводами при ответвлении от ВЛ неизолированными (изолир.) проводами с креплением их на кронштейне К-1. Стены кирпичные (бет.) (докум. - 8)

Мар-ка, поз.

Наименование

Кол-во

Примечание

1

Провод ответвления от ВЛ А16 ГОСТ 839-80Е

 

принимается по проекту

2

Изолятор ТФ-16 ТУ16-90 ИМБШ.757516-001

4

3

Колпачек КП-16М ТУ34-09.11232-87

4

4

Штырь Ш-16ТУ34-13.10409-90

4

5

Шайба ГОСТ 11371-78

4

К1

Кронштейн К-2

1

см. докум. - 39

6

Зажим ПА-1-1 ТУ34-13-10273-88

4

 

7

Зажим (сжим) ПА-1-1 ТУ34-13-10273-88

4

 

8

Провод АПРН 4х- ТУ16-705.456-87

-

по проекту

9

Втулка ВТК ГОСТ13871-78Е

4

 

10

Втулка В ГОСТ13871-78Е

2

 

11

Трубка резиновая полутвердая ТУ38.105.1832-88

2

 
 

1. Применение кронштейна рекомендуется для проводов ответвления от ВЛ сечением выше 25 мм кв.
2. При больших сечениях проводов ввода допускается устройства проходов в стене под каждый провод см. докум. - 7.
3. Устройства проходов для проводов ввода через стены см. докум. - 38.
4. Схему присоединения проводов ввода к проводам ответвления см. докум. - 48.
5. Крепление изолированных проводов марки АПРН к изоляторам осуществляется с помощью проволочной вязки.
6. Спецификация дана на устройство одного ввода.

Четырехпроводный ввод в объекты проводами при ответвлении от ВЛ неизолированными (изолир.) проводами с креплением их на кронштейне К-2. Стены кирпичные (бет.) (докум. - 9)

Поз.

Наименование

Кол-во

Примечание

1

Провод ответвления от ВЛ А16 ГОСТ 839-80Е

 

принимается по проекту

2

Изолятор ТФ-16 ТУ16-90 ИМБШ.757516-001

4

3

Колпачек КП-16М ТУ34-09.11232-87

4

4

Крюк КН-16 ГОСТ 17783-72

4

5

Кронштейн К-2

1

см. докум. - 40

6

Зажим ПА-1-1 ТУ34-13-10273-88

4

 

7

Зажим (сжим) ПА-1-1 ТУ34-13-10273-88

4

см. докум - 14

8

Провод АПРН 4х- ТУ16-705.456-87

-

по проекту

9

Втулка ВТК ГОСТ13871-78Е

4

 

10

Втулка В ГОСТ13871-78Е

2

 

11

Трубка резиновая полутвердая ТУ38.105.1832-88

2

 
 

1. Применение кронштейна рекомендуется для проводов ответвления от ВЛ сечением выше 25 мм кв.
2. При больших сечениях проводов ввода допускается устройства проходов в стене под каждый провод см. докум. - 7.
3. Устройства проходов для проводов ввода через стены см. докум. - 38.
4. Схему присоединения проводов ввода к проводам ответвления см. докум. - 48.
5. Крепление изолированных проводов марки АПРН к изоляторам осуществляется с помощью проволочной вязки.
6. Спецификация дана на устройство одного ввода.

Двух- и четырехпроводные вводы в объекты проводами при ответвлении от ВЛ неизолированными (изолир.) проводами. Стены деревянные (докум. - 10)

Поз.

Наименование

Кол-во при вводе

Примечание

2-х пр.

4-х пр.

1

Провод ответвления от ВЛ А16 ГОСТ 839-80Е

   

по проекту

2

Изолятор ТФ-16 ТУ16-90 ИМБШ.757516.001

2

4

3

Колпачек КП-16М ТУ34-09.11232-87

2

4

4

Крюк КН-16 ГОСТ17783-72

2

4

5

Зажим ПА-1-1 ТУ34-13-10273-88

2

4

 

6

Сжим (зажим) У867ХЛ1 ОСТ36-69-82

2

4

 

7

Провод АПРН 2х4 (4х-) ТУ16-705.456-87

   

по проекту

8

Втулка В ГОСТ13871-78Е

1

1

 

9

Трубка резиновая полутвердая ТУ38.105.1832-88

1

1

 

10

Втулка ВТК ГОСТ13871-78Е

1

1

 

11

Труба стальная ГОСТ 3262-75

1

1

по проекту

12

Брус деревянный 50х80х150

1

1

 

13

Гвозди К6х200 ГОСТ 4028-63

4

6

 
 

1. Чертеж приведен для двухпроводного ввода. Для четырехпроводного ввода приведена схема разметки отверстий под крюки изоляторов и проход проводов через стены.
2. Для двухпроводных вводов допускается вертикальное расположение проводов с расстоянием между проводами не менее 400мм.
3. При больших сечениях проводов ввода допускается устройства проходов в стене под каждый провод см. докум. - 7.
4. Устройства проходов для проводов ввода через стены см. докум. - 38.
5. Схему присоединения проводов ввода к проводам ответвления см. докум. - 48.
6. Крепление изолированных проводов марки АПРН к изоляторам осуществляется с помощью проволочной вязки.
7. Спецификация дана на устройство 2-х и 4-х проводного ввода.

Двух- и четырехпроводные вводы в объекты проводами при ответвлении от ВЛ неизолированными (изолир.) проводами. Стены глинобитные (саманные) (докум. - 11)

Поз.

Наименование

Кол-во при вводе

Примечание

2-х пр.

4-х пр.

1

Провод ответвления от ВЛ А16 ГОСТ 839-80Е

   

по проекту

2

Изолятор ТФ-16 ТУ16-90 ИМБШ.757516.001

2

4

3

Колпачек КП-16М ТУ34-09.11232-87

2

4

4

Крюк КН-16 ГОСТ17783-72

2

4

5

Зажим ПА-1-1 ТУ34-13-10273-88

2

4

 

6

Сжим (зажим) У867ХЛ1 ОСТ36-69-82

2

4

 

7

Провод АПРН 2х4 (4х-) ТУ16-705.456-87

   

по проекту

8

Втулка В ГОСТ13871-78Е

1

1

 

9

Трубка резиновая полутвердая ТУ38.105.1832-88

1

1

 

10

Втулка ВТК ГОСТ13871-78Е

1

1

 

11

Брус деревянный 80х50хL

1

1

 

12

Брус деревянный 50х80х150

2

3

 

13

Шпилька металлическая ф 10 мм

4

6

см. докум. - 38

14

Гайка М10 ГОСТ 5915-70

8

12

 

15

Шайба 10 ГОСТ 11371-78

8

12

 
 

1. Чертеж приведен для двухпроводного ввода. Для четырехпроводного ввода приведена схема разметки отверстий под крюки изоляторов и проход проводов через стены.
2. Для двухпроводных вводов допускается вертикальное расположение проводов с расстоянием между проводами не менее 400мм.
3. При больших сечениях проводов ввода допускается устройства проходов в стене под каждый провод см. докум. - 7.
4. Устройства проходов для проводов ввода через стены см. докум. - 38.
5. Схему присоединения проводов ввода к проводам ответвления см. докум. - 48.
6. Крепление изолированных проводов марки АПРН к изоляторам осуществляется с помощью проволочной вязки.
7. Спецификация дана на устройство 2-х и 4-х проводного ввода.

Двухпроводный воздушный ввод в объект через трубостойку проводами при ответвлении от ВЛ неизолированными (изолир.) проводами (докум. - 12 )

Мар-ка, поз.

Наименование

Кол-во

Примечание

Т-1

Трубостойка, масса 7,45 кг

1

см. докум. - 44

Т-2

Оттяжка тросовая, масса 1,21 кг

2

см. докум. - 47

1

Изолятор ТФ-16 01 ГОСТ 2366-78

2

 

2

Сжим ответвительный У857ХЛ1 ОСТ 36-69-82

2

 

3

Провод ответвления к вводу А16 ГОСТ 839-80Е

-

по проекту

4

Провод ввода АПРН 2х4 ТУ16-705.456-87

-

по проекту

5

Кабельный наконечник тип 16-8-5,4-АУХЛ3 ГОСТ 9581-80

1

 

6

Дюбель У661 У3 ТУ 36-941-79

2

 

Схемы присоединения проводов ввода к проводам ответвления от ВЛ см. докум. - 49

1. Затяжка проводов осуществляется до установки и крепления трубостойки.
2. Зануление трубостойки осуществляется присоединением свободного конца нулевого рабочего провода ответвления от ВЛ к вводу, оконцованного кабельным наконечником, к заземляющему болту трубостойки.
3. Места закрепления лапок оттяжек трубостойки выбираются с учетом расположения несущих конструкций крыши, возможных нагрузок на трубостойку от проводов ответвления к вводу (количества сечения, расстояния до опоры ВЛ п т.п.) и угла подхода их к трубостойки.
4. Закрепление в стене нижнего конца трубостойки производить цементно-песчаным раствором марки 50 (100).
Диаметр отверстия принимать не менее трех диаметров трубы.

Четырехпроводный воздушный ввод в объект через трубостойку проводами при ответвлении от ВЛ неизолированными (изолир.) проводами (докум. - 13 )

Мар-ка, поз.

Наименование

Кол-во

Примечание

Т-2

Трубостойка, масса 7,45 кг

1

см. докум. - 44

Т-6

Оттяжка тросовая, масса 1,21

2

см. докум. - 47

1

Изолятор ТФ-16 01 ГОСТ 2366-78

4

 

2

Зажим ПА-1-1 ТУ34-13-10273-88

5

 

3

Провод ответвления к вводу А16 ГОСТ 839-80Е

-

по проекту

4

Провод ввода АПРН 4х16 ТУ16-705.456-87

-

по проекту

5

Кабельный наконечник тип 16-8-5,4-АУХЛ3 ГОСТ 9581-80

1

 

6

Дюбель У661 У3 ТУ 36-941-79

2

 

Указания по монтажу см. докум. - 12
Схемы присоединения проводов ввода к проводам ответвления от ВЛ см. докум. - 49

Выбор установочных изделий и материалов для устройства воздушных вводов при ответвлении от ВЛ неизолированными (изолир.) проводами (докум. - 14)

Перечень технических условий и стандартов на установочные изделия

Наименование

Обозначение НТД

Наименование

Обозначение НТД

п
р
о
в
о
д

АПРН, ПРН, ПРГН, АПРТО, ПРТО

ТУ16-705.456-87

Трубка ТВ-40

ГОСТ 19043-82

Втулка ВТК-УЗ, В-УЗ

ГОСТ 13871-78Е

АПР, ПР, ПРГ, ПРПГ, ПРПГУ

ТУ16-К71-176-92

Труба стальная

ГОСТ 3262-75

Крюк КН-16, КН-20

ГОСТ 17783-72

АПВ, ПВ1, ПВ2, ПВ3

ГОСТ 6323-79Е

Колпачек КП-16М, КП-20

ТУ34-09.11292-87

Трубка резиновая полутвердая

ТУ38.105.1832-88

Изолятор ТФ-16(20)01

ТУ1690 ИМБШ.757516.001

Сжим У867ХЛ1

ОСТ 36-69-82

 

1 Только для проводов с медной жилой.
2 Для объектов из сгораемых стеновых материалов.
3 Для защиты установочных проводов, имеющих не светостабилизированную изоляцию. Может также использоваться для этих целей обмотка изоляционной или самоклеющейся лентами.
4 Для вводов, выполняемых проводами марок АПР, ПР, ПРГ, ПРПГ сечением 2,5 и 4,0 мм2, элементы изоляции принимать как для сечения 10,0 мм2 (т.е. на две ступени выше). Вводы сечением 10,0 и 16,0 мм2, указанных проводов и проводов ПРПГУ, выполнять через индивидуальные отверстия для каждого провода с соответствующим (по диаметру) набором элементов изоляции.
5 Для вводов в хозпостройки, имеющих розеточные группы и питаемых по внутриобъектным электропроводкам.
6 Сечение проводов ввода свыше 16 мм2 определяется конкретным проектом электроснабжения объекта.
При устройстве вводов в хозпостройки от внутриобъектных электропроводок, выполненных проводами марок АВТ, САП и САСП, элементы изоляции выбирать с учетом рекомендаций таблиц для соответствующих проводов на ответвлениях от ВЛ.

Все страницы раздела:
1. Пояснительная записка (докум. - ПЗ)
Рекомендации по устройству вводов (докум. - 1)
Технические данные проводов и кабелей и рекомендации по их применению (докум. - 2)
Ответвления от ВЛ к воздушным вводам в объекты. Схемы подключения объектов к ВЛ (докум. - 3…-6)

2. Двух- и четырехпроводные вводы в объекты проводами, в том числе через трубостойки, при ответвлении от ВЛ неизолированными (изолир.) проводами (докум. - 7…-13)
Выбор установочных изделий для устройства воздушных вводов при ответвлении от ВЛ неизолированными (изолир.) проводами (докум. - 14)

3. Двух- и четырехпроводные воздушные вводы в объекты проводами, в том числе через трубостойки, при ответвлении от ВЛ тросовыми проводами (докум. - 15…-18)
Выбор установочных изделий и материалов для устройства воздушных вводов при ответвлении от ВЛ тросовыми проводами (докум. - 19)

4. Двух- и четырехпроводные воздушные вводы в объекты проводами, в том числе через трубостойки, при ответвлении от ВЛ самонесущими проводами марки САП и САСП (докум. - 20…-26)
Выбор установочных изделий для устройства воздушных вводов при ответвлении от ВЛ самонесущими проводки марок САП и САСП (докум. - 27)

5. Двух- и четырехпроводные воздушные вводы в объекты проводами (кабелем) при ответвлении от ВЛ кабелем (трубостойку) (докум. - 28…-30)
6. Кабельные вводы в объекты через стены. Детали защиты кабелей (докум. - 31…-35)
7. Способы крепления изоляторов на стенах; крепление проводов к изоляторам зажимами; устройство проходов через стены (докум. - 36…-38)
8. Кронштейн К-1, К-2 (докум. - 39…-40)
9. Зажим ответвительный К-НО-1 и крюк К-КО-1; зажим ответвительный типа К-ОФФ-1 и К-ОФ-1 (докум. - 41…-43)
10. Воздушные вводы через трубостойку. Марки Т-1, Т-2, Т-3, Т-4, Т-5 и Т-6. Оттяжка тросовая. Крепление (докум. - 44…-47)
11. Схемы присоединения проводов воздушных вводов к проводам ответвления от ВЛ (докум. - 48…-54)
12. Повторное заземление нулевого рабочего провода на вводах (схемы, материалы, монтаж) (докум. - 55…- 62)