
РП/ОЭн Т—4—20—УХ/11
Основные размеры здания при установке на монолитный фундамент

РП/ОЭн Т—4—20—УХЛ 1
Основные размеры здания при установке на свайный фундамент

РП/ОЭн Т—4—20—УХЛ 1
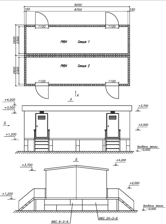
Основные размеры здания при установке на фундаментные блоки

РП/ОЭн Т—4—20—УХЛ 1
Основные размеры здания при установке на лежнях

РП/ОЭн Т—4—20—УХЛ1
Варианты установки здания

РП/ОЭн Т—4—20—УХЛ 1
Варианты установки здания

РП/ОЭн Т— 4—20—УХЛ1
Принципиальная однолинейная схема РУ СТ-20
| № | Наименование | Обозначение | кол. |
| 1. | Распределительное устройство | РУ СТ—20 | 24. |
| 2. | Шкаф питания собственных нужд | ШПСН | 1. |
| 3. | Шкаф аварийного питания | ШАП750 | 1. |
| Тепловой | ЭВНБ-1.5М | ||
| 4. | конвертор | 1.5кВт | 4. |
| 5. | Трансформатор собственных нужд | ТСЗ—25 кВА | 2. |

РП/ОЭнТ—4—20—УХП 1
Компоновка оборудования РП с ячейками РУ СТ-20

Сталь полосовая 40x4 ГОСТ 103-76
Про6од ПВ1 —1x16
З.Электрод заземления 4м Ст. уг. 50x50x5 Внутренний контур заземления проходит по стенам на высоте 400 мм. от пола.
РП/ОЭн Т—4—20—УХЛ1
Контур заземления

Примечание:
Освещение выполнить в соответствии с ПУЭ р. 6.
Напряжение питания сети освещения ~220 В.
Напряжение питания сети освещения ячеек РУ СТ—20 ~12В (входит в состав ячеек). 100 —Мощность лампы в светильнике, Вт
2,3м —Высота подвеса светильника над полом, м
Светильники наружного освещение крепятся над дверью. Выключатели устанавливаются на высоте 1,6 м. .
Линия осветительной сети прокладывается в коробах ПВХ ТМС 25/1)67 на высоте 2,3 м. Спуски к розеткам и выключателям выполняются в коробах ПВХ ТМС 25/1XI7.
Светильники -220 В крепятся на стенах
Штепсельные розетки ~220 В. устанавливаются на высоте 0,8 м. от пола
Выключатели для светильников общего освещения устанавливаются на высоте 1,6 м. от пола
Датчик температуры устанавливается на стену на высоте 2м.
| Марка Поз. | Обозначение на плане | Наименование оборудования | Кол. | Обозначение | Примечание |
| 1 | ![]() | Светильники с лампами накаливания 220В | 8 | НПП-03-100-005 | Устанавливаются в РУВН |
| 2 | Светильники с лампами накаливания 220В | 4 | ПСХ 60-002 | Устанавливаются на улице над Дверью | |
| 3 | Выключатель поворотный | 6 | А016-001 | ||
| 4 | Розетка | 2 | РА16-112Б | ||
| 5 | Коробка монтажная | 6 | PDM | Д3508 | |
| 6 | Датчик температуры | 1 | ДГКБ53 |
РП/ОЭнТ—4—20—УХЛ 7
Освещение

РП/ОЭн Т— 4—20—УХЛ 1
Собственные нужды